EasyManua.ls Logo

Audiovox VME 9125 NAV - Controls and Indicators Overview; Unit Controls and Ports

Audiovox VME 9125 NAV
88 pages
Go to English
Print Icon
To Next Page IconTo Next Page
To Next Page IconTo Next Page
To Previous Page IconTo Previous Page
To Previous Page IconTo Previous Page
Loading...
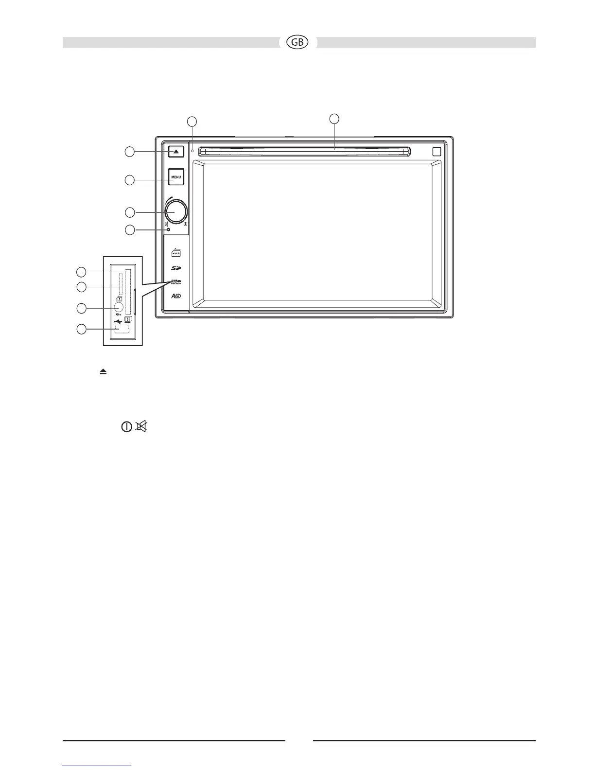
CONTROLS AND INDICATORS
VOL

1� [ ] Button
Press to eject a disc.
2� [MENU] Button
Press to switch between the available audio/video sources applied to the unit.
3� [VOL/ / ] Knob
Rotate to adjust the volume. Press momentarily to activate the MUTE function. Press again to
resume normal listening.
Press to turn the unit ON. Press and hold to turn the unit OFF.
4� Reset Button
Press to reset system settings to factory default (except password).
5� SD Interface Connector
Insert an SD card for playback of music/video les.
6� Map Slot
The Mini SD card is used for the Navigation Map only, not for music or other les. This may
be used for rmware updates if required.
7� A/V Input
Accepts a 3.5 mm jack through which signals from various audio/video devices can be
applied to the unit.
8� USB Connector
Connect a USB device for playback of music/video les.
9� Disc slot
10� Internal Microphone
Internal microphone for Bluetooth calls.
34

Related product manuals