EasyManua.ls Logo

Automate 410 - Type C Door Locks

Default Icon
24 pages
Print Icon
To Next Page IconTo Next Page
To Next Page IconTo Next Page
To Previous Page IconTo Previous Page
To Previous Page IconTo Previous Page
Loading...
14 © 1999 Directed Electronics, Inc. Vista, CA
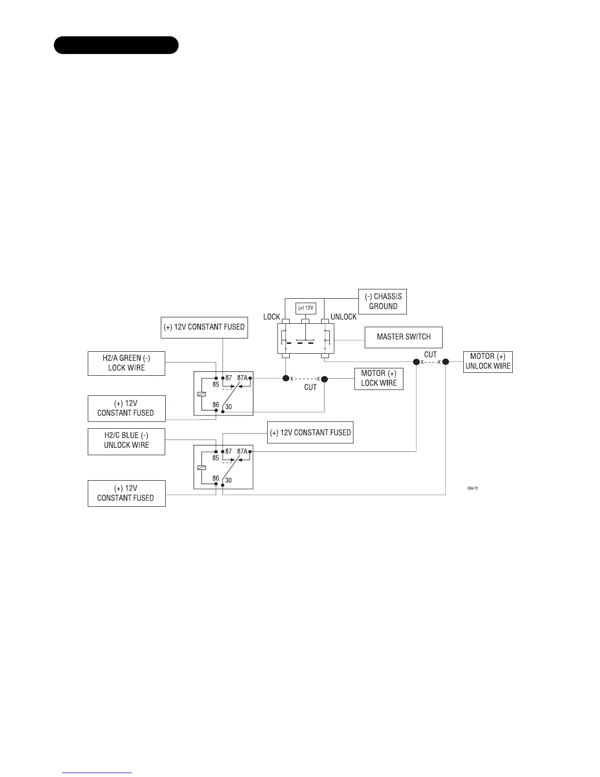
Interfacing with a reversing polarity system requires either two relays or one 451M (not included). It is critical
to identify the proper wires and locate the master switch to interface properly. Locate wires that show voltage
on lock and unlock. Cut one of the suspect wires and check operation of the locks from both switches. If one
switch loses operation in both directions and the other switch operates in one direction only, you have located
one of the target wires. The switch that lost all operation is the master switch. If one switch works both direc-
tions and the other switch works only one direction, you have a Type A system. If both switches still operate,
but one or more doors have stopped responding entirely, you have cut a motor lead. Reconnect it and continue
to test for another wire. Once both wires have been located and the master switch identified, cut both wires and
interface as shown below.
IMPORTANT! If these are not connected properly, you will send (+) 12 Volts directly to (-) ground,
possibly damaging the factory switch.
type C: reversing polarity

Related product manuals