EasyManua.ls Logo

Automate 410 - Type D Door Locks

Default Icon
24 pages
Print Icon
To Next Page IconTo Next Page
To Next Page IconTo Next Page
To Previous Page IconTo Previous Page
To Previous Page IconTo Previous Page
Loading...
© 1999 Directed Electronics, Inc. Vista, CA 15
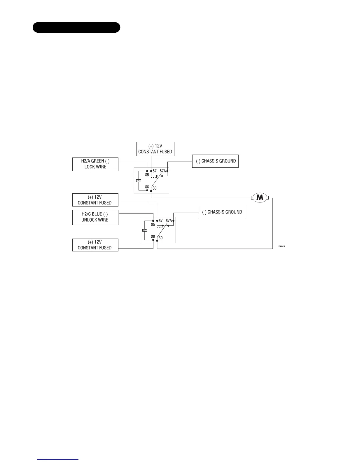
In order for this system to control one or more aftermarket actuators, a 451M or two relays (optional) are needed.
Vehicles without factory power door locks require the installation of one actuator per door. This requires mount-
ing the door lock actuator inside the door. Other vehicles may only require one actuator installed in the driver's
door if all door locks are operated when the driver's lock is used. This type of installation is required to operate
factory lock systems in Volvo (except 850), SAAB, and most Mazda, Isuzu and Subaru models.
The fuse used on 12V inputs should be 7.5A per motor installed in the vehicle.
IMPORTANT! Do not connect the outputs of the alarm directly to the actuator!
type D: after-market actuators

Related product manuals