EasyManua.ls Logo

Autopage TRX950 - D.clock & Timer Setting; Timer Setting; Alert Alarm Timer Setting; Count down Timer Setting

Autopage TRX950
30 pages
Print Icon
To Next Page IconTo Next Page
To Next Page IconTo Next Page
To Previous Page IconTo Previous Page
To Previous Page IconTo Previous Page
Loading...
9
2. Press the ( ) button again showing next order time on the screen
(ie.0: 20), press them again (ie.0: 30)and so on.
3. Leave the buttons starting count down then icon flashes
Note: 1.The count down period is fixed as 10 minutes, 20 minutes, 30
minutes, 1 hour, 1.5 hours and 2 hours maximum.
a. When count down timer showing 0:00 means to turn off the timer.
b. Press button for real time indication when the timer is counting
down.
10. Out Of Range Indication:
1. If within the range, the icon will display on the LCD screen.
2. If you are out of range, the icon will disappear on the LCD screen.
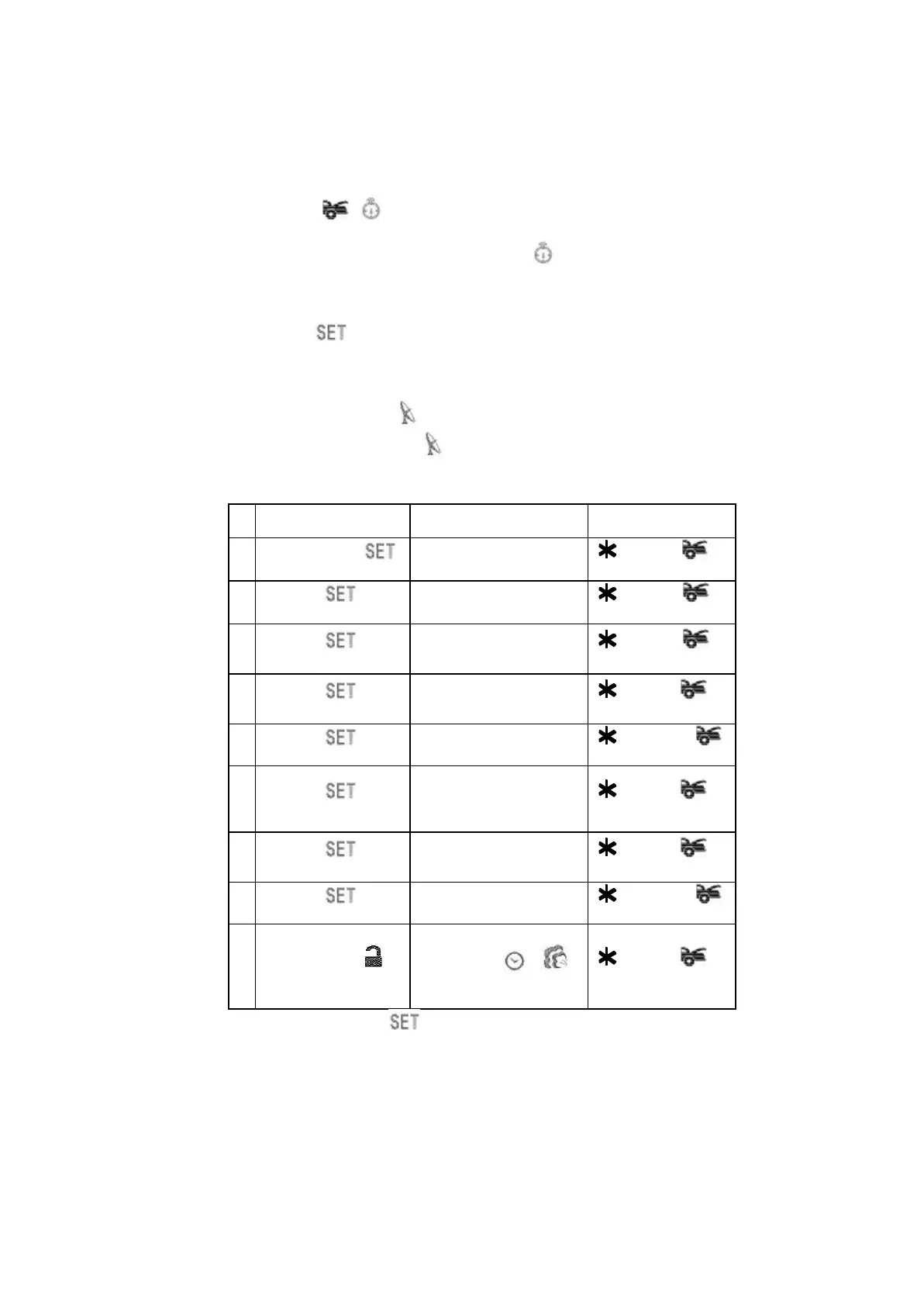
D. CLOCK & TIMER SETTING:
Transmitter Button Description
Press Transmitter
Button
1
Press & Hold the
button until hour flashes
Clock Setting (Hour)
*Flash digit for adjusting
for and
for +
Press the button
once
Time setting (Minute)
*Flash digit for adjusting
for and
for +
2
Press the button
once.
Alert Alarm Time Setting
(Hour)
*Flash digit for adjusting
for and
for +
Press the button
once
Alert Alarm Time Setting
(Minute)
*Flash digit for adjusting
for and
for +
Press the button
once
Alert Alarm Setting ON / OFF
for OFF and
for ON
3
Press the button
once
Count Down Timer
Setting (Hour)
*Flash digit for adjusting
(Max.19 hours 59 minutes)
for and
for +
Press the button
once
Count down Timer Setting
(Minute)
*Flash digit for adjusting
for and
for +
Press the button
once
Count down Timer Setting
ON / OFF
for OFF and
for ON
4
Press & hold the
button for 2 seconds.
Daily Timer Start Timer
Setting Flash /
icon and “Hours” for
adjusting
for and
for +
EXIT: Press and hold the button for 2 seconds or leave it for 10seconds,
the system will exit the
programming mode.

Table of Contents

Related product manuals