EasyManua.ls Logo

Avanti GR2013CSS - Page 16

Avanti GR2013CSS
20 pages
Print Icon
To Next Page IconTo Next Page
To Next Page IconTo Next Page
To Previous Page IconTo Previous Page
To Previous Page IconTo Previous Page
Loading...
16
GAS CONVERSION
REPLACING THE OVEN / BROILER BURNER INJECTORS
The following process applies to the following models:
GR2011CW /GR2012CB
GR2013CSS
GR2414CW / GR2415CB
GR2416CSS
DGR20P3S / DGR24P3S
To replace the OVEN burner injector:
a)
Lift and remove the lower panel inside the oven.
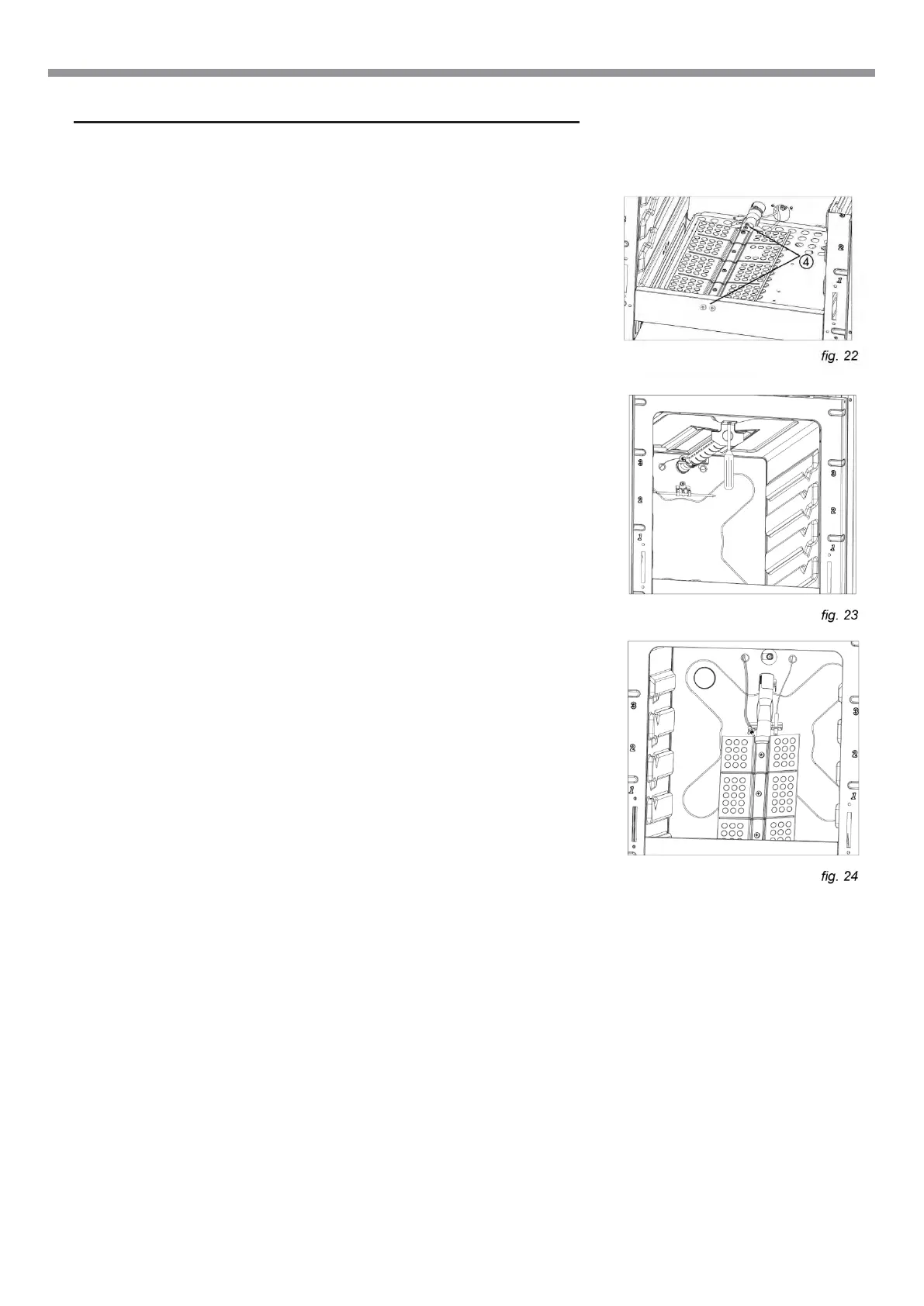
b)
Remove the burner securing screws (total 4) (fig. 22)
c)
Withdraw the burner and rest it inside the oven.
Take care as not to damage the wire to the ignition electrode
as well as the thermocouple.
d)
Using a 7 mm box spanner, unscrew the injector and replace it
using the new LPG injector.
e)
Replace the burner repeating the above steps in reverse order.
To replace the BROIL burner injector:
a)
Remove the burner by unscrewing the front screw (fig. 23)
b)
Gently suspend the burner as shown in figure 24.
Take care as not to damage the wire to the ignition electrode
as well as the thermocouple.
c)
Using a 7 mm box spanner, unscrew the injector (indicated in
figure 24) and replace it using the new LPG injector.
d)
Replace the burner repeating the above steps in reverse order.
The following process applies to the following models:
GRO20P0W / GRO24P0W
To replace the OVEN / BROILER burner injector:
a)
Life and remove the lower panel inside the oven.
b)
Remove the burner securing screws (total 4) (fig. 21)
c)
Withdraw the burner and rest it inside the oven.
Take care as not to damage the wire to the ignition electrode
as well as the thermocouple.
d)
Using a 7 mm box spanner, unscrew the injector (indicated in
figure 22) and replace it using the new LPG injector.
e)
Replace the burner repeating the above steps in reverse order.