EasyManua.ls Logo

Barko Hydraulics 495B SD - Page 71

Default Icon
101 pages
Print Icon
To Next Page IconTo Next Page
To Next Page IconTo Next Page
To Previous Page IconTo Previous Page
To Previous Page IconTo Previous Page
Loading...
Operation and Maintenance Manual
495B ML TM (S)
71
Last Updated - 08/31/2016
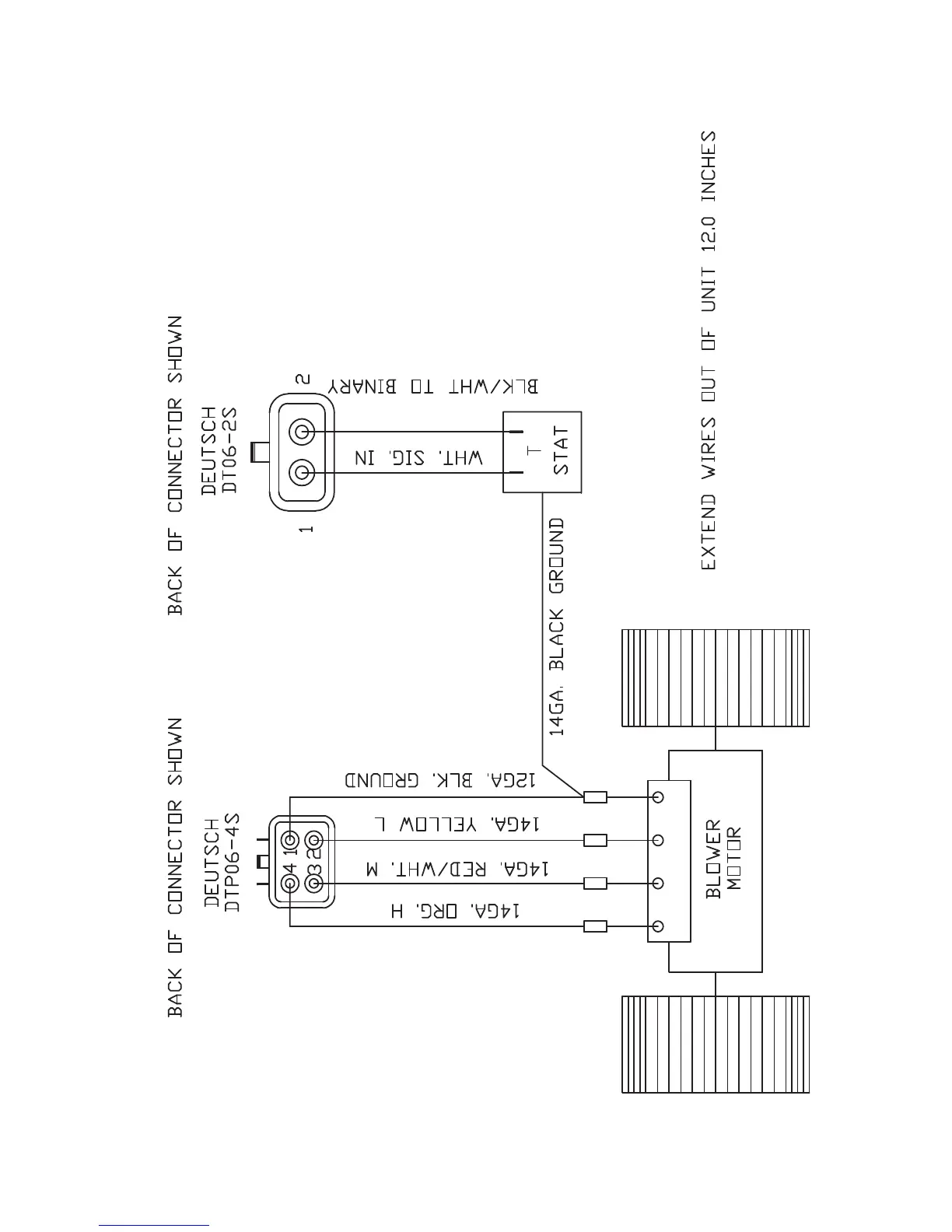
AIR CONDITIONER MAINTENANCE CONTINUED...

Related product manuals