EasyManua.ls Logo

Barnes SE411 - General Safety Information; General Safety Warnings; Electrical Safety; Pump Operation Safety

Barnes SE411
18 pages
Print Icon
To Next Page IconTo Next Page
To Next Page IconTo Next Page
To Previous Page IconTo Previous Page
To Previous Page IconTo Previous Page
Loading...
11
General Safety Information
Please read this before installing or
oper-ating pump. this information is
provided for safety and to prevent
equipment problems. To help
recognize this informa-tion, observe
the following symbols:
NOTE: Indicates special instructions
which are important but not related
to hazards.
IMPORTANT: Indicates factors
concerned with assembly,
installation, operation, or
maintenance which could result
in damage to the machine or
equipment if ignored.
Warns about hazards that
will or can cause minor
personal injury or property
damage if ignored.
Warns about hazards that
can cause severe personal
injury, death, or major
property damage if ignored.
Warns about hazards that
will cause serious personal
injury, death, or major
property damage if ignored.
1. Most accidents can be avoided by
using COMMON SENSE.
Do not wear loose
clothing that may-become
entangled in the impeller
or other moving parts.Always wear
appropriate safety gear, such as
safety glasses, when working on the
pump or piping.
Pumps build up heat and
pressure during operation.
Allow time for pumps to cool
before handling or servicing.
2. Only qualifi ed personnel should
install, operate, and repair pump.
Keep clear of suction and
discharge openings. Do not
insert fi ngers in pump with
power connected.
Do not pump hazardous
materials (fl ammable,
caustic,etc.) unless the
pump is specifi cally designed and
designated to handle them.
3. Make sure lifting handles are
securely fastened each time
before lifting.
4. Do not lift pump by the power
cord.
5. Do not exceed manufacturer’s
recommendation for maximum
performance, as this could cause
the motor to overheat.
6. Secure the pump in its operating
position so it can not tip over, fall,
or slide.
7. Keep hands and feet away
from impeller when power is
connected.
Submersible pumps are
notapproved for use in
swimming pools, recreational
water installa-tions, decorative
fountains, or any installation where
human contactwith the pumped fl uid
is common.
8. Operation against a closed
discharge valve will cause
premature bearing and seal
failure on any pump.
To reduce risk of electrical
shock, pump must be
properly grounded in
accordance with the United States
National Electric Code (NEC), or the
Canadian Electrical Code (CEC) and
all applicable state, and local codes
and ordinances.
To reduce risk of electrical
shock, always disconnect
the pump from the power
source before handling or servicing.
9. Any wiring of pumps should
be performed by a qualifi ed
electrician.
Never operate a pump with a
power cord that has frayed or
brittle insulation.
10. Cable should be protected at all
times to avoid punctures, cuts,
bruises, and abrasions - inspect
frequently.
Never handle connected
power cords with wet hands.
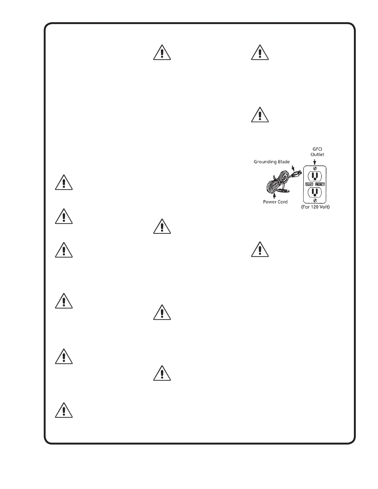
Neveroperate a 120 volt
pump with a plug-in type
power cord without a ground fault
circuit interrupter.
11. Do not remove cord and strain
relief. Do not connect conduit to
pump.
To reduce risk of electrical
shock, all wiring and
junction connections should
be made per the United States
National Electric Code (NEC), or the
Canadian Electrical Code (CEC) and
applicable state or prov-ince and
local codes. Requirements may vary
depending on usage and location.
See wiring diagrams in manual.

Related product manuals