EasyManua.ls Logo

Basler A202k - Page 18

Default Icon
26 pages
Print Icon
To Next Page IconTo Next Page
To Next Page IconTo Next Page
To Previous Page IconTo Previous Page
To Previous Page IconTo Previous Page
Loading...
Supplement
12 Basler A202k High Gain
DRAFT
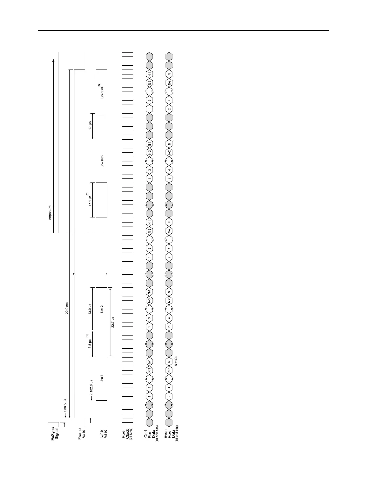
[1]
The line valid low time is 8.8 µs except as described in note 2 below.
[2]
In the level controlled exposure mode, the fall of ExSync starts exposure. If ExSync falls while a frame is being transferred (while frame valid is high), one line valid
low time immediately following the fall of ExSync will be 17.1 µs.
[3]
The diagram assumes that the area of interest (AOI) feature is not being used. With the AOI feature enabled, the number of lines transferred and the number of pixels
in each line could be smaller.
TIMING CHARTS ARE NOT DRAWN TO SCALE
Figure 2: Dual 10 Bit or Dual 8 Bit Output Mode with Level Controlled Exposure

Other manuals for Basler A202k

Related product manuals