EasyManua.ls Logo

Baumer NE215 - Totalizing Counter Readout and Reset; Secondary Counter Status Readout and Reset

Baumer NE215
40 pages
Print Icon
To Next Page IconTo Next Page
To Next Page IconTo Next Page
To Previous Page IconTo Previous Page
To Previous Page IconTo Previous Page
Loading...
12
NE215
If other values are changed, the value at witch the operating level
was left can be re-displayed with the
key after the
programming mode has been left.
Other changes
Press the key.
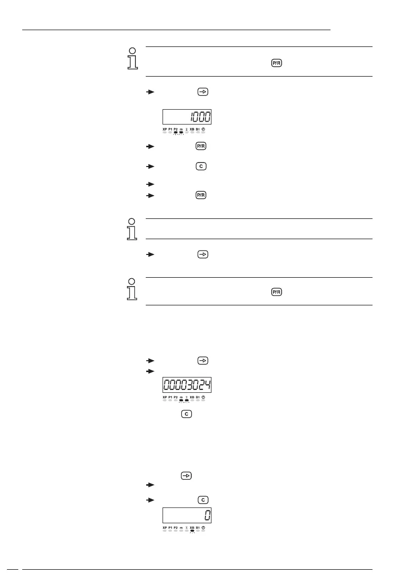
Read preset value P2
To change
Press the key.
LED P2 flashes.
Press the key.
Preset 2 is being deleted.
Input the preset value P2 via the numerical keypad.
Press the key.
The change is completed.
If a key is not operated within 15 seconds, the preset value will
automatically be re-displayed in the operating mode.
Other changes
Press the key.
The following values can also be changed.
If other values are changed, the value at witch the operating level
was left can be re-displayed with the
key after the
programming mode has been left.
Totalizing counter
The totalizing counter can be disabled in the programming mode.
To read
Press the key.
Read the totalizing counter.
Reset
Press the key.
Secondary counter status
The secondary counter can be disabled in the programming mode.
To read
Press the key.
Read off the current limit value secondary counter status
Reset
Press the key.
Operating mode

Related product manuals