EasyManua.ls Logo

BCI Capnocheck Plus - Page 58

Default Icon
66 pages
Print Icon
To Next Page IconTo Next Page
To Next Page IconTo Next Page
To Previous Page IconTo Previous Page
To Previous Page IconTo Previous Page
Loading...
VERT
Sgspest
Тео
АНА+5
REV,
DESCRIPTION
07
cas
R47
MMBTOSLTI
116
ur
270
1
SEE
SHEET
4,
ναυτ
+VIN
СУМ
4040
KMK
6-5-97
TEMP
cas
GND
SEL
1100
LEECS
ISRO
EX
o
2
EECLE
1966
F
EEDATA
raio
AN+
VTEMP
|
GND
GND
pu
veo?
DETOUT
00000
ar
sure!
-
MPxSQoaSX
TP16
{ИЕ
|
ВС!
INTERNATIONAL
ORIGINAL
BRAWN
BY:
NLL
[CHK
BYKMKinsey
ENG.
APPRIEPatatnik
DATE:
10-10-96
[DATE
10-10-96
DATE:
10-10-96
ADS22AR
190K
я
Ee
SCALE!
NTS
DO
NOT
SCALE
PRINT
[GA
APPRrJNPeter
Е
Fav
THIS
DOCUMENT
CONTAINS
CONFIDENTIAL
AND/OR
(DATE:
10-10-96
PROPRIETARY
INFORMATION
AND
IS
NOT
TO
BE
RE-
[o
R
RR
ας
DESIGNATED.
AGENT.
DATE:
10-10-96
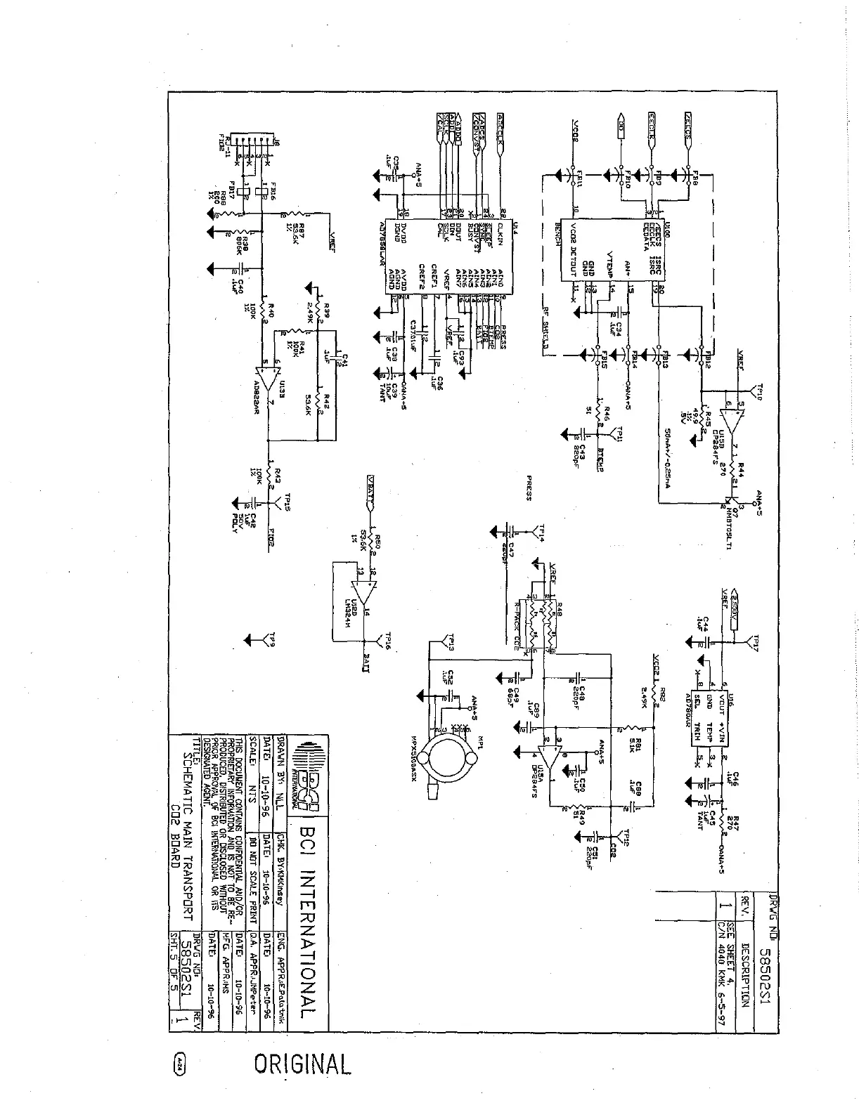
TITLE:
DRWG
Nth
REV.
SCHEMATIC
MAIN
TRANSPORT
|
5850281
1
co
BOARD
SHLS
DES
=
8