EasyManua.ls Logo

BEALE AK140 - LOWER FUNCTION; TOUCH RESPONSE

BEALE AK140
24 pages
Print Icon
To Next Page IconTo Next Page
To Next Page IconTo Next Page
To Previous Page IconTo Previous Page
To Previous Page IconTo Previous Page
Loading...
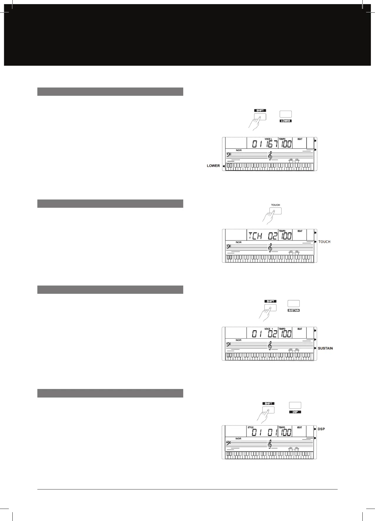
LOWER
The lower function splits the keyboard into the left and the right
hand areas, each with a dierent voice. The left hand voice is the
lower voice “VOICE L”.
The default split point is #F3.
1. Hold down the [SHIFT] button and press the [LOWER]
button to turn on the LOWER VOICE. The LCD will display
the “LOWER VOICE” icon and display “VOICE L” and its
number. When you play in real time, you can activate Split
Mode simply by pressing this button.
2. Press [+]/[–] button, or numeric buttons to select the
voice you want.
TOUCH
The keyboard is equipped with a touch response feature that
lets you dynamically and expressively control the level of the
voice with your playing strength just like on an acoustic instrument.
Press the [TOUCH] button to adjust the touch parameter: OFF,
1, 2, 3. Press [+] and [–] buttons simultaneously to restore its
default value.
SUSTAIN
When the Sustain feature is ON, all notes played on the keyboard
will have a longer sustain. Hold down the [SHIFT] button and then
press the [SUSTAIN] button to turn the SUSTAIN eect ON or OFF.
Note:
When you step on the “sustain pedal”, the sustain eect is stronger
than the eect by pressing the [SUSTAIN] button.
The DSP simulates sounds in the real environment. With the DSP
eect, you can add ambiance and depth to your performance.
The DSP eect is set to ON when you turn on the AK140. Hold
down the [SHIFT] button and then press the [DSP] button to turn
on or o the DSP eect.
DSP EFFECT
9
AK140