EasyManua.ls Logo

Beamz BS271F - Page 23

Beamz BS271F
31 pages
Print Icon
To Next Page IconTo Next Page
To Next Page IconTo Next Page
To Previous Page IconTo Previous Page
To Previous Page IconTo Previous Page
Loading...
23
INSTRUKCJA ROZPAKOWYWANIA
OSTRZE• ENIE! Natychmiast po odbiorze urządzenia, ostrożnie otwórz karton ochronny, oraz sprawdź zawartość i stan
techniczny przedmiotu. Niezwłocznie powiadom kuriera oraz zachowaj opakowanie zewnętrzne do kontroli, jeśli jakikolwiek
element zawartości wygląda na zniszczony w transporcie lub nosi objawy złego traktowania paczki. W takim wypadku należy
niezwłocznie odesłać sprzęt do producenta. Sprzęt należy wysłać w oryginalnym opakowaniu.
Jeśli urządzenie było wystawione na działanie niskich temperatur (np. podczas transportu), nie uruchamiaj go od razu.
Powstające zjawisko kondensacji widy może uszkodzić urządzenie. Pozostaw urządzenie wyłączone, dopóki nie osiągnie
temperatury pokojowej.
ZASILANIE
Na naklejce z tyłu urządzenia znajduje się oznaczenie dotyczące rodzaju zasilania. Sprawdź, czy napięcie w gniazdku zgadza
się z wymaganym przez producenta. Złe napięcie może spowodować nienaprawialne uszkodzenie urządzenia.
Zawsze podłączaj urządzenie do zabezpieczonego obwodu elektrycznego (za pomocą bezpiecznika lub wyłącznika
instalacyjnego). Upewnij się, że urządzenie jest uziemione, aby uniknąć pożaru lub śmiertelnego porażenia prądem.
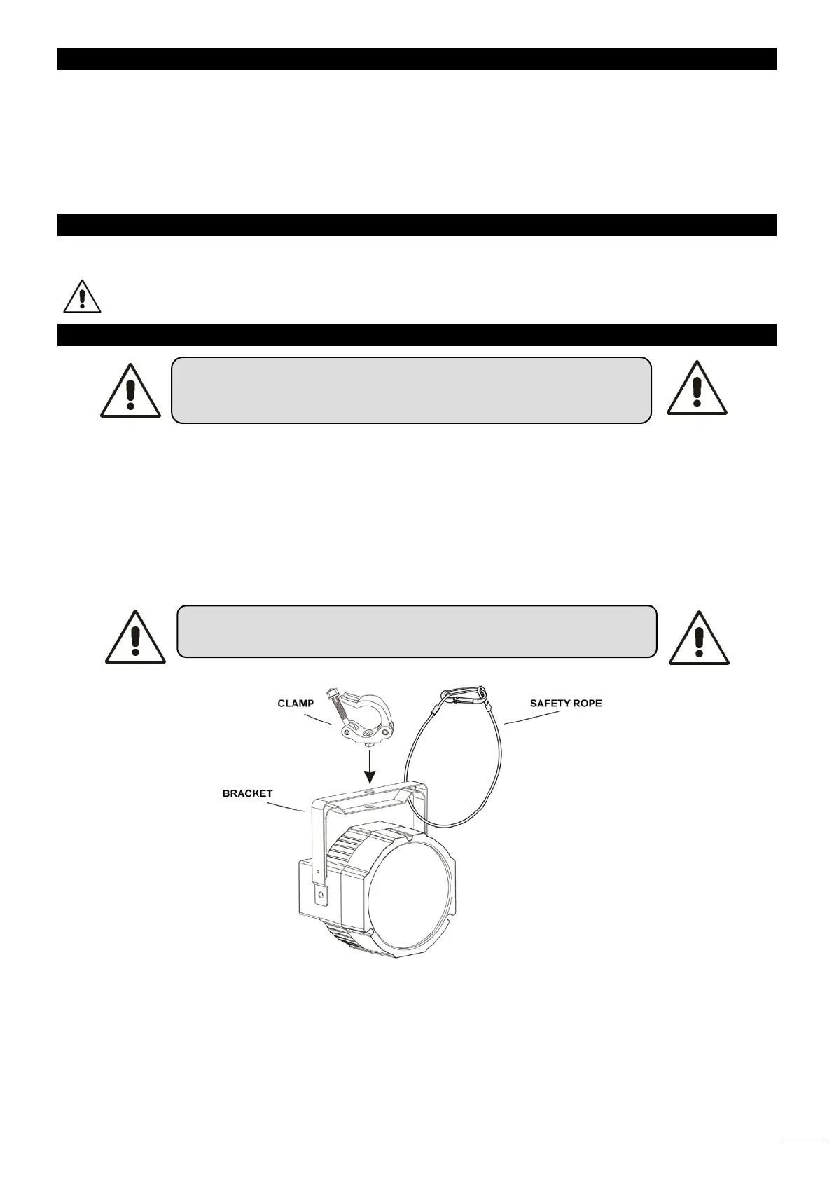
INSTALACJA
Uwaga:
Instalacja urządzenia powinna być przeprowadzona na konstrukcji, która jest w stanie utrzymać 10-krotność wagi
sprzętu przez godzinę bez żadnych deformacji.
Instalacja musi być zawsze dodatkowo zabezpieczona, np. linką bezpieczeństwa. Dodatkowe zabezpieczenie musi
być skonstruowane w taki sposób, że żaden element instalacji nie spadnie w przypadku awarii głównego
zabezpieczenia.
Upewnij się, że przestrzeń pod instalacją jest wolna od osób postronnych podczas montażu, demontażu oraz serwisu.
Operator musi się upewnić, że wszelkie instalacje są zaakceptowane przez eksperta przez użytkowaniem sprzętu.
Takie instalacje muszą być kontrolowane co najmniej raz na rok.
Urządzenie powinno być zamontowane w miejscu niedostępnym dla osób postronnych.
UWAGA:
Respektuj normy bezpieczeństwa dotyczące instalacji urządzenia.
Instalacja może być przeprowadzona przez wykwalifikowanego
pracownika bądź dystrybutora!
UWAGA: Podczas instalacji urządzenia upewnij się, że w pobliżu (0,5m od
urządzenia) nie znajdują się materiały łatwopalne (np. dekoracje).

Related product manuals