EasyManua.ls Logo

Benchmark BG4500i - Page 78

Benchmark BG4500i
110 pages
Print Icon
To Next Page IconTo Next Page
To Next Page IconTo Next Page
To Previous Page IconTo Previous Page
To Previous Page IconTo Previous Page
Loading...
20
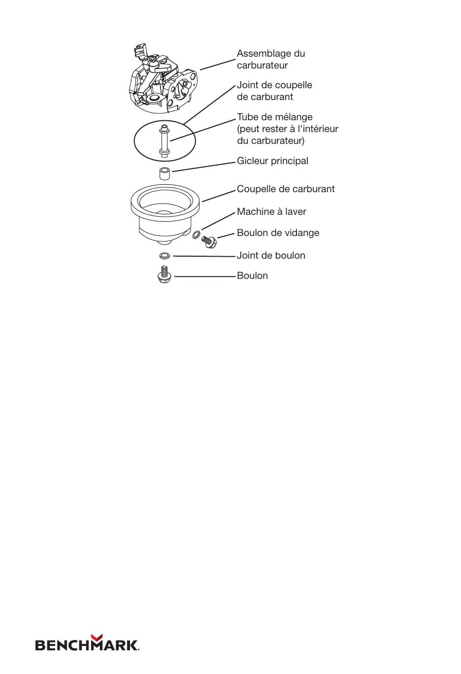
1. Éteignez le moteur.
2. Fermez le robinet de carburant.
3. Placez un bol sous la coupelle de carburant pour récupérer tout carburant
renversé.
4. Dévissez le boulon maintenant la coupelle de carburant.
5. Retirez le boulon, le joint de boulon, la coupelle de carburant, le joint de
coupelle de carburant, et le gicleur principal du corps de l’ensemble
carburateur. Un tournevis de carburateur (non inclus) est nécessaire pour
retirer et installer le gicleur principal.
6. Remplacez le gicleur principal par le gicleur principal de remplacement
nécessaire pour votre plage d’altitude.
7. Remplacez le joint de la coupelle de carburant, la coupelle de carburant, le
joint de boulon et le boulon. Serrer en place. Ne croisez pas le letage du
boulon lors du serrage. Serrez d’abord à la main, puis utilisez une clé pour
vous assurer que le boulon est correctement leté.
8. Essuyez tout carburant renversé et laissez l’excédent s’évaporer avant de
démarrer le moteur. Pour éviter un INCENDIE, ne démarrez pas le moteur
tant qu’une odeur de carburant otte dans l’air.
Assemblage du
carburateur
Gicleur principal
Joint de coupelle
de carburant
Tube de mélange
(peut rester à l'intérieur
du carburateur)
Coupelle de carburant
Joint de boulon
Boulon
Boulon de vidange
Machine à laver

Table of Contents

Related product manuals