EasyManua.ls Logo

BENDIXKing KX 99 - KX 99 Controls and Interface

BENDIXKing KX 99
35 pages
Print Icon
To Next Page IconTo Next Page
To Next Page IconTo Next Page
To Previous Page IconTo Previous Page
To Previous Page IconTo Previous Page
Loading...
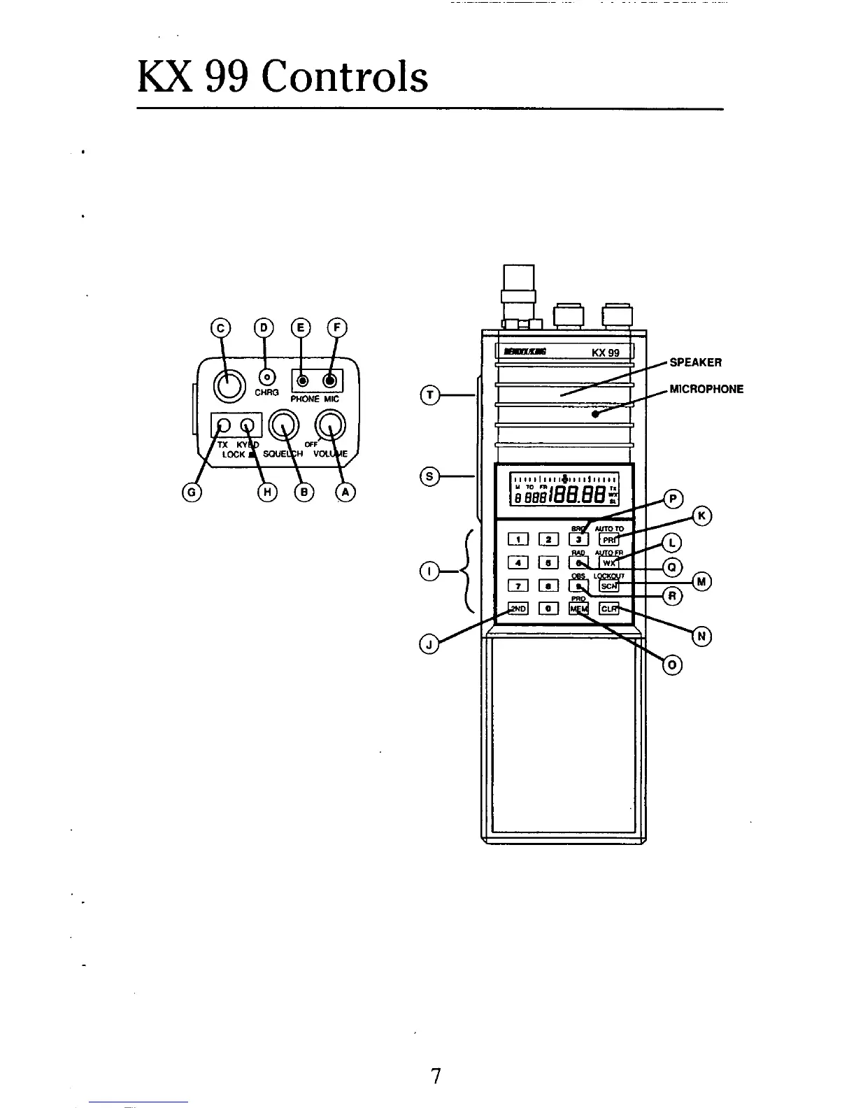
KX
99
Controls
SPEAKER
MICROPHONE
7

Related product manuals