EasyManua.ls Logo

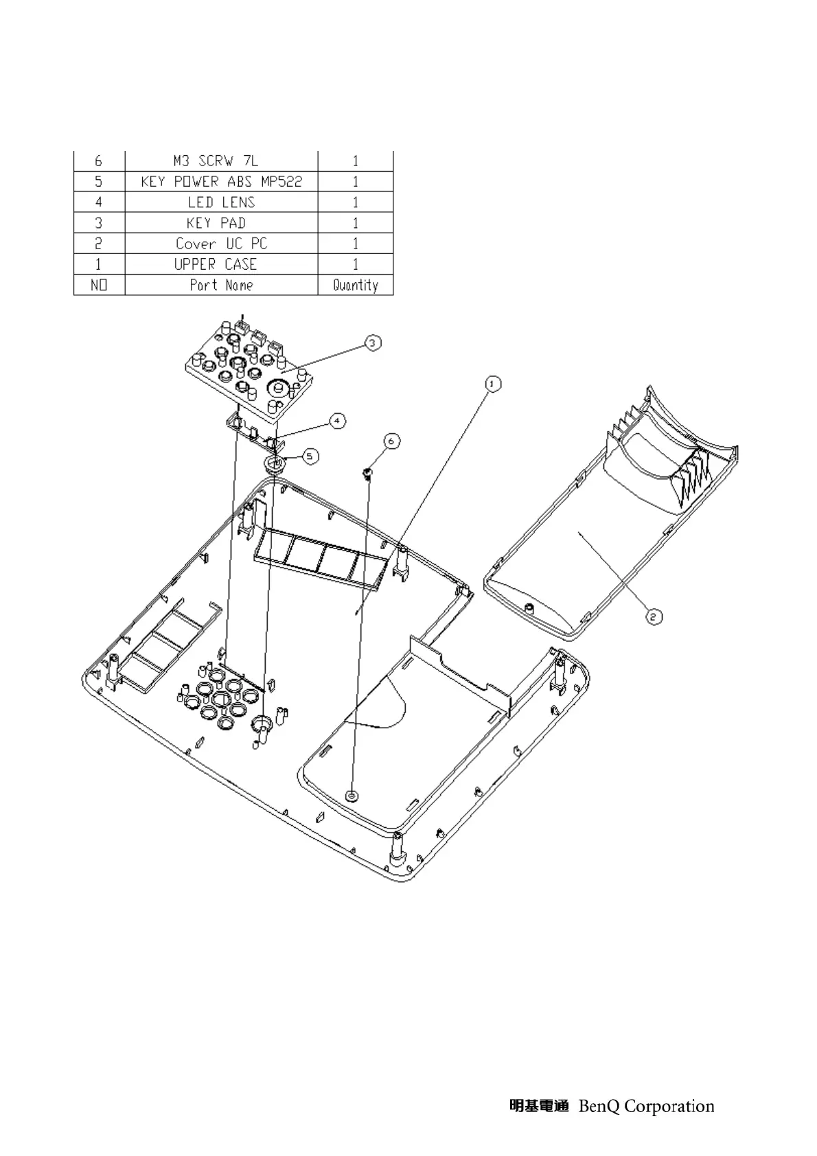
BenQ MP512 - Module 2 - ASSY UPPER CASE

BenQ MP512
96 pages
Print Icon
To Next Page IconTo Next Page
To Next Page IconTo Next Page
To Previous Page IconTo Previous Page
To Previous Page IconTo Previous Page
Loading...
45
Module 2 – ASSY UPPER CASE

Related product manuals