EasyManua.ls Logo

BenQ ScreenBar - Page 31

BenQ ScreenBar
35 pages
Print Icon
To Next Page IconTo Next Page
To Next Page IconTo Next Page
To Previous Page IconTo Previous Page
To Previous Page IconTo Previous Page
Loading...
2
한국어
램프 사용하기
램프 켜기 / 끄기 자동 디머 모드 들어가기
램프의 센서를 막지 마십시. 그렇지 않으면 자동 디머 모드가 제대로
작동하지 않습니다 .
자동 디머 모드를 켜면 , 램프가 주변 조명 조건을 모니터링하여 밝기
온도 설정을 동적으로 조정합니다 .
밝기 또는 온도를 수동으로 조정하면 자동 디머 모드가 자동으로 종료
되고 자동 디머 모드 표시등이 꺼집니다 .
정전기 반응이 높은
환경에서는 램프가 자동 디머 모드 전환되어안전을
보장합니다 .
밝기 온도 수동 조정
전원 공급이 갑자기 중단된 경우 , 전원이 복원되었을 조명은 정전 이전의 설정으로 자동으로 돌아
갑니다 .
정전 이전에 조명이 켜져 있었으면 , 전원이 복원되었을 조명이 자동으로 켜지고 , 정전 이전의
온도를 기억합니다 .
정전 이전에 조명이 꺼져 있었으면 , 전원이 복원되었을 조명은 꺼진 상태로 남아 있습니다 .
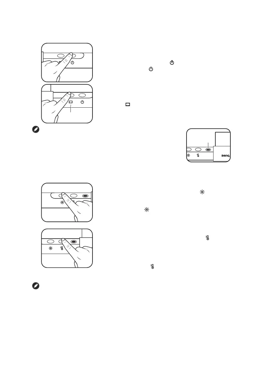
램프 켜기 / 끄기
램프를 켜려면 , 램프의 전원 버튼 터치합니다 . 램프를
려면 , 램프의 전원 버튼 다시 터치합니다 .
자동 디머 모드 들어가기
자동 디머 모드에 들어가려면 , 램프가 켜졌을 램프의 자동
모드 버튼 터치합니다 . 자동 디머 모드 표시등이 켜집
니다 . 자동 디머 모드는 주변 조명 조건에 따라 램프의 밝기를
자동으로 조정하고 온도 설정을 최적화합니다 .
자동 디머 모드
표시등
밝기 조정하기
램프가 켜진 상태에서 , 램프의 밝기 조정 버튼 터치합니
. 버튼을 터치할 때마다 밝기가 변합니다 . 15 가지 밝기
중에 선택할 있습니다 .
또한 밝기 조정 버튼 길게 터치하여 밝기를 조정할 수도
있습니다 . 램프의 밝기가 점진적으로 변하므로 , 원하는 밝기
도달했을 버튼을 놓으면 됩니다 .
온도 조정
램프가 켜진 상태에서 , 램프 온도 조정 버튼 터치합
니다 . 버튼을 터치할 때마다 온도가 변합니다 . 8 가지
설정 중에서 선택할 있습니다 : 6500K ( 일광 ), 5700K
( 화이트 ), 5000K, 4500K ( 뉴트럴 화이트 ), 4000K, 3500K
( 화이트 ), 3000K 2700K ( 소프트 화이트 ).
또한 온도 조정 버튼 길게 터치하여 온도를 조정할
수도 있습니다 . 램프
온도가 점진적으로 변하므로 , 원하
설정에 도달했을 버튼을 놓으면 됩니다 .

Related product manuals