EasyManua.ls Logo

Bentone B 10 E R - Instructions Pump Type Danfoss BFP41; Pump Technical Data and Components; Suction Line Tables and Purging

Bentone B 10 E R
20 pages
Print Icon
To Next Page IconTo Next Page
To Next Page IconTo Next Page
To Previous Page IconTo Previous Page
To Previous Page IconTo Previous Page
Loading...
INSTRUCTIONS PUMP TYPE DANFOSS BFP41
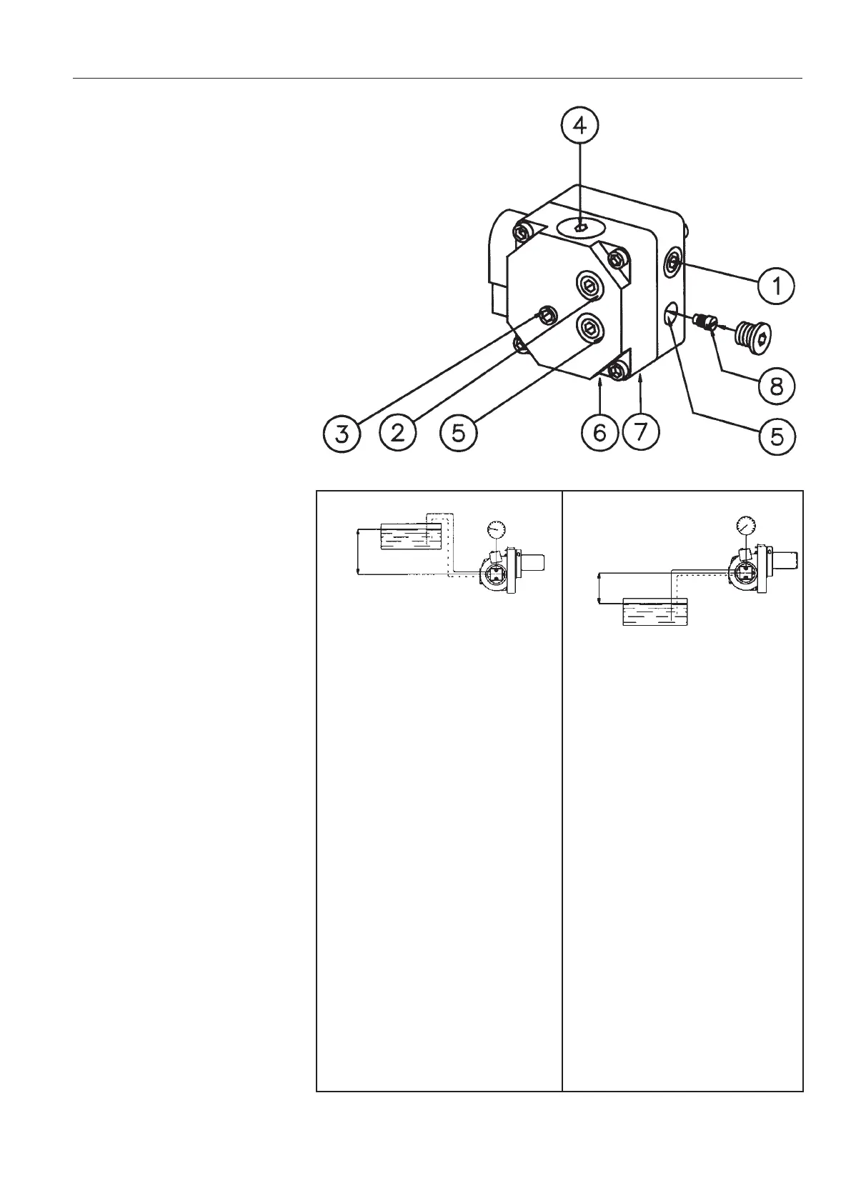
Components
 
2. Pressure gauge port
3. Pressure adjustment, 4mm allen key




8. Return plug
Technical data
Viscosity range: 1,3-12,0 mm
2

Pressure range: 7-15 bar
Oil temperature: -10 to +70°C
Suction line tables
The suction line tables consist of
theoretically calculated values where
the pipe dimensions and oil velocity
have been matched so that turbulences
will not occur. Such turbulences will
result in increased pressure losses and
in acoustic noise in the pipe system. In
addition to drawn copper piping a pipe
system usually comprises 4 elbows, a
non-return valve, a cut-off valve and an

The sum of these individual resistances
      
disregarded. The tables do not include
any lengths exceeding 100 m as
experience shows that longer lengths
are not needed.
The tables apply to a standard fuel
oil of normal commercial quality
according to current standards. On
commis sioning with an empty tube
system the oil pump should not be
run without oil for more than 5 min.
(a condition is that the pump is being

The tables state the total suction line
length in metres at a nozzle capacity

pressure at the suction and pressure
side is 2,0 bar.
Purging
On 1-pipe systems it is necessary to
purge the pump. On 2-pipe systems
purging is automatic through the
return line.
171 505 07 10-01
Two-pipe system
Height Pipe diameter
H ø6 mm ø8 mm ø10 mm
m m m m
0 17 53 100
-0,5 15 47 100
-1,0 13 41 99
-1,5 11 34 84
-2,0 9 28 68
-2,5 7 22 53
-3,0 5 15 37
-3,5 3 9 22
4,0 1 3 6
Height Pipe diameter
H ø4 mm ø5 mm ø6 mm
m m m m
Height Pipe diameter
H ø6 mm ø8 mm ø10 mm
m m m m
4,0 33 100 100
3,5 31 98 100
3,0 29 91 100
2,5 27 85 100
2,0 25 79 100
1,5 23 72 100
1,0 21 66 100
0,5 19 60 100
Height Pipe diameter
H ø4 mm ø5 mm ø6 mm
m m m m
4,0 51 100 100
3,5 45 100 100
3,0 38 94 100
2,5 32 78 100
2,0 26 62 100
1,5 19 47 97
1,0 13 31 65
0,5 6 16 32
1-pipe system 1-pipe system

system is not recommended
Two-pipe system
H
H

Related product manuals