EasyManua.ls Logo

BEP 600 Series - Wiring Diagram; Control Head Installation

BEP 600 Series
12 pages
Print Icon
To Next Page IconTo Next Page
To Next Page IconTo Next Page
To Previous Page IconTo Previous Page
To Previous Page IconTo Previous Page
Loading...
Copyright © BEP Marine Limited, All rights reserved
INST-600-GD-V5
29/11/07
Page 6
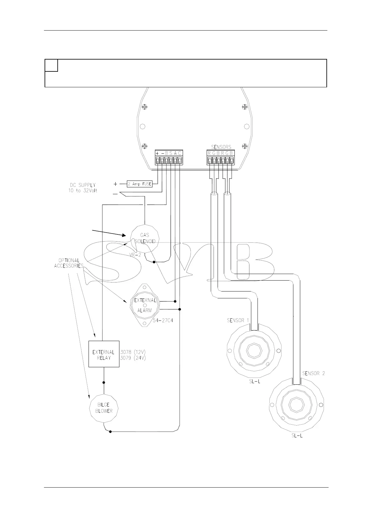
9 Wiring Diagram
10 Control Head Installation
For ease of operation, the control head should be mounted in a convenient position close to your gas
appliances and in a position where the control head can be seen and heard easily. The unit can be
either surface mounted or recessed into a 2.5mm panel.
Important Note:
If using one sensor, A link
wire must be wired
between B and G on the
unused sensor side
1
GDL ONLY

Related product manuals