EasyManua.ls Logo

Bercomac 700713 - Step 3 Control Box Installation

Bercomac 700713
40 pages
Print Icon
To Next Page IconTo Next Page
To Next Page IconTo Next Page
To Previous Page IconTo Previous Page
To Previous Page IconTo Previous Page
Loading...
8
ASSEMBLY
STEP 3
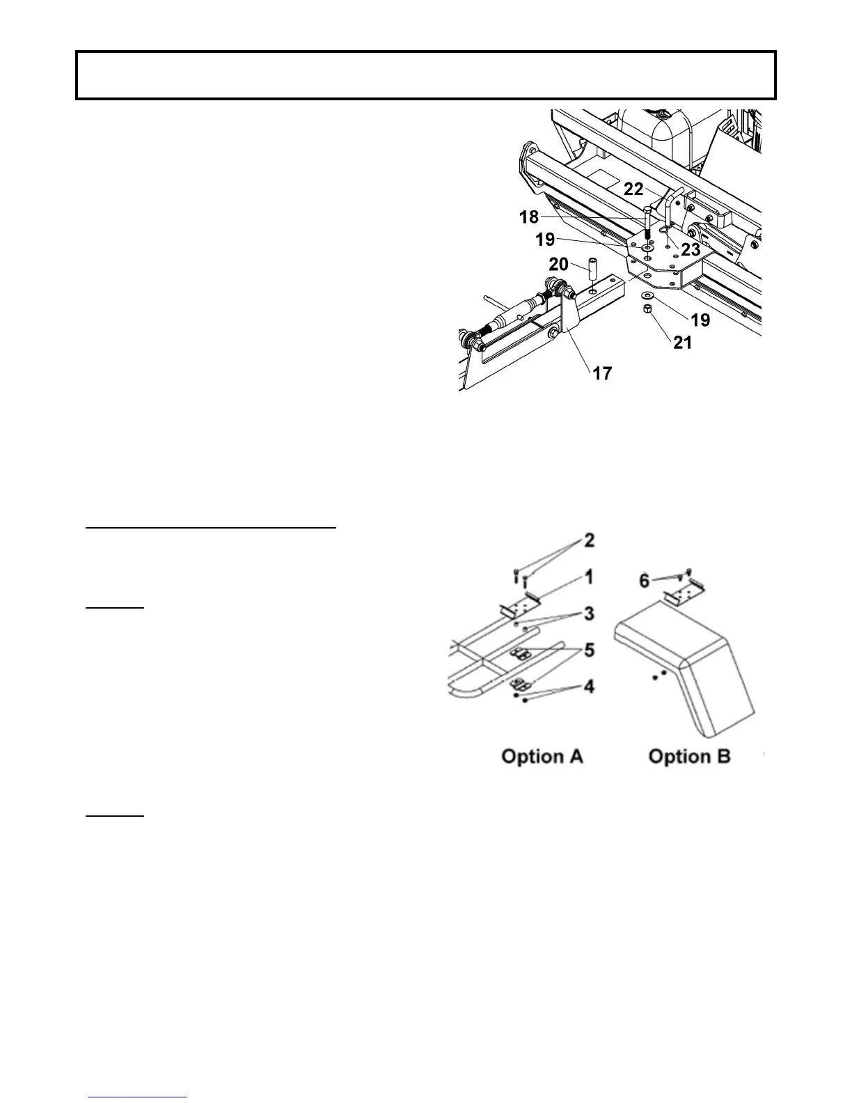
CONTROL BOX INSTALLATION
Choose between the two ways of installing the control
box support (item 1).
Option A
Use two hex bolts 1/4" x 1 1/2" (item 2), two spacers
(item 3) and two flange nuts 1/4" (item 4) to attach the
control box support to the support brackets (item 5).
NOTE: Choose the right hole combination on the
control box support in order to orient the front of the
control box towards the driving controls of the vehicle.
(see operation section to see how control box is
oriented), Furthermore, make sure to have free
access at all times to the equipment's controls in
order to safely control the equipment.
Option B
Drill two holes of 1 9/16’’ apart on the vehicle. Secure
the control box support with two bolts 1/4" x 1/2" (item
6) and two flange nuts 1/4".
Insert the control box in the control box support.
NOTE: In order to prevent damage due to water
accumulation, make sure to place the control box
horizontally.
TOW BAR INSTALLATION
Install the tow bar assembly (item 17) as shown using
a bolt 1/2 x 3-1/2’’ (item 18), two washers 1/2’’ (item
19), a sleeve (item 20) and a nut 5/8’’ (item 21).
Finally secure the position of the tow bar with the pin
(item 22) and a cotter pin (item 23).
Reconnect the spark plug cable.

Related product manuals