EasyManua.ls Logo

BestPack AS22-2 - Lubrication and Maintenance; Lubrication Points and Schedule

Default Icon
48 pages
Print Icon
To Next Page IconTo Next Page
To Next Page IconTo Next Page
To Previous Page IconTo Previous Page
To Previous Page IconTo Previous Page
Loading...
Automatic Uniform Sidedrive Carton Sealer (AS)
17
Machine Maintenance
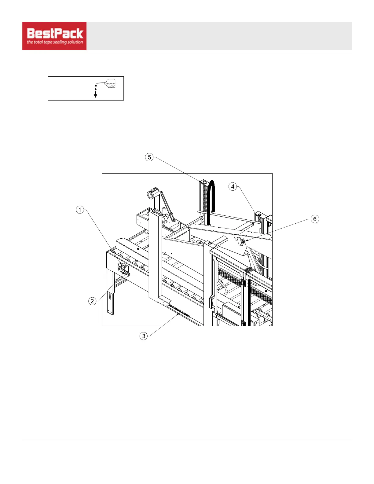
LUBRICATION
It is important to lubricate all moving parts on the machine to keep it in top operating condition.
Lubricate the following areas with grease or oil (as indicated) every two months.
LUBRICATE THE FOLLOWING:
1. Chain drive mechanism for width adjustment GREASE
2. Spindle screw mechanism for width adjustment GREASE
3. Chain drive mechanism for height adjustment. GREASE
4. Spindle screw mechanism for height adjustment. GREASE
5. Bearing for spindle screw mechanism for width adjustment. OIL
6. Bearing for ap folding arm assembly. OIL
GREASE
POINTS
INDICATED GREASE POINTS
FIGURE 3-1

Related product manuals