EasyManua.ls Logo

Beurer BM 85 - Übertragung der Messwerte

Beurer BM 85
Print Icon
To Next Page IconTo Next Page
To Next Page IconTo Next Page
To Previous Page IconTo Previous Page
To Previous Page IconTo Previous Page
Loading...
15
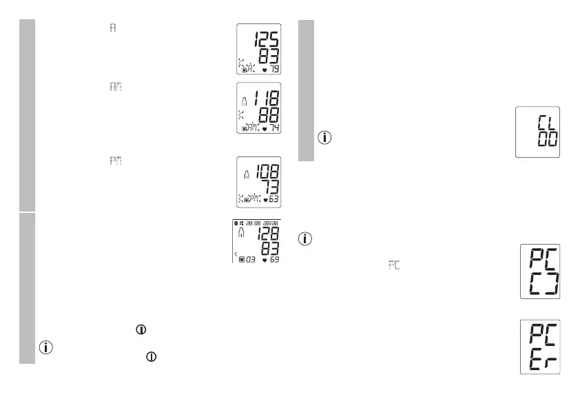
Durchschnittswerte
Im Display blinkt
A
.
Es wird der Durchschnittswert aller gespei-
cherten Messwerte dieses Benutzerspeichers
angezeigt.
Im Display blinkt
AM
.
Es wird der Durchschnittswert der letzten
7 Tage der Morgen-Messungen angezeigt
( Morgen: 5.00 Uhr – 9.00 Uhr).
Drücken Sie die jeweilige Speichertaste (M1 oder M2).
Im Display blinkt
PM
.
Es wird der Durchschnittswert der letzten
7 Tage der Abend-Messungen angezeigt
(Abend: 18.00 Uhr – 20.00 Uhr).
Einzelmesswerte
Wenn Sie die jeweilige Speichertaste (M1
oder M2) erneut drücken, wird im Display
die letzte Einzelmessung angezeigt (hier im
Beispiel Messung 03).
Wenn Sie die jeweilige Speichertaste (M1 oder M2)
wieder drücken, können Sie jeweils Ihre gemessenen
Einzelmesswerte einsehen.
Um das Gerät wieder auszuschalten, drücken Sie die
START/STOPP-Taste .
Sie können das Menü jederzeit durch Drücken der
START/STOPP-Taste verlassen.
Messwerte löschen
Um den Speicher des jeweiligen Benutzerspeichers zu
löschen, wählen Sie zunächst einen Benutzerspeicher
aus.
Starten Sie die Abfrage der Einzelmesswerte.
Halten Sie die Speichertasten M1/M2 beide für 5 Se-
kunden gedrückt.
Alle Werte des gegenwärtigen Benutzerspei-
chers werden gelöscht.
Einzelne Messdaten können nicht ge-
löscht werden.
8. Übertragung der Messwerte
Übertragung über USB-Schnittstelle
Schließen Sie Ihr Blutdruckmessgerät mithilfe des USB-Kabels
an Ihren PC an.
Während einer Messung kann keine Datenübertragung
gestartet werden.
Auf dem Display wird
PC
angezeigt. Starten Sie die
Datenübertragung in der PC-Software „beurer
HealthManager“. Während der Datenübertragung
wird im Display eine Animation angezeigt. Eine
erfolgreiche Datenübertragung wird wie in Abb 1.
dargestellt. Bei einer nicht erfolgreichen Datenüber-
tragung wird die Fehlermeldung wie in Abb. 2
angezeigt. In diesem Fall unterbrechen Sie die
PC-Verbindung und starten die Datenübertragung
erneut.
A
bb. 1
A
bb. 2

Table of Contents

Related product manuals