EasyManua.ls Logo

Beurer BM 85 - Przenoszenie Danych Pomiarowych

Beurer BM 85
Print Icon
To Next Page IconTo Next Page
To Next Page IconTo Next Page
To Previous Page IconTo Previous Page
To Previous Page IconTo Previous Page
Loading...
151
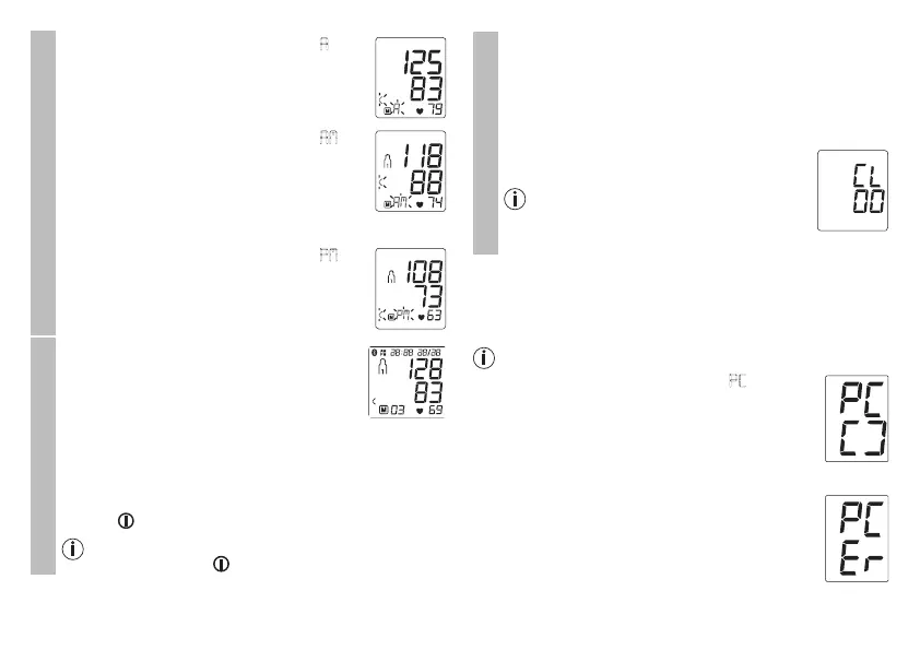
Średnie wyniki pomiarów
Na wyświetlaczu będzie migać symbol
A
.
Najpierw wyświetli się średnia wartość wszy-
stkich zapisanych w pamięci pomiarów tego
użytkownika.
Na wyświetlaczu będzie migać symbol
AM
.
Zostanie wyświetlona średnia wartość z ostat-
nich 7 dni pomiarów porannych (rano: godz.
5.00–9.00).
Naciśnij przycisk pamięci (M1 lub M2).
Na wyświetlaczu będzie migać symbol
PM
.
Zostanie wyświetlona średnia wartość z ostat-
nich 7 dni pomiarów wieczornych (wieczór:
godz. 18.00–20.00).
Pojedyncze wyniki pomiaru
Jeśli ponownie naciśniesz odpowiedni
przycisk pamięci (M1 lub M2), na wyświe-
tlaczu pojawi się ostatni pojedynczy pomiar
(wprzykładzie pomiar 03).
Jeśli ponownie naciśniesz odpowiedni przycisk pamięci
(M1 lub M2), możesz zobaczyć poszczególne zmierzone
wartości.
Aby wyłączyć urządzenie, naciśnij przycisk START/
STOP .
Z menu można wyjść w każdej chwili, naciskając przy-
cisk START/STOP .
Kasowanie wyników pomiaru
Aby skasować wybraną pamięć użytkownika, należy ją
najpierw wybrać.
Rozpocznij wyświetlanie poszczególnych wartości.
Przytrzymaj wciśnięte oba przyciski M1/M2 przez 5se-
kund.
Wszystkie wartości bieżącego użytkownika
zostaną skasowane.
Nie można skasować poszczególnych
danych pomiarowych.
8. Przenoszenie danych pomiarowych
Transmisja danych poprzez złącze USB
Podłącz ciśnieniomierz za pomocą kabla USB do komputera.
Podczas pomiaru nie można rozpocząć transmisji danych.
Na wyświetlaczu pojawi się wskazanie
PC
.
Rozpocznij przesyłanie danych za pomocą
oprogramowania „beurer HealthManager”. Podczas
transmisji danych na wyświetlaczu pojawi się
animacja. Pomyślnie wykonana transmisja danych
jest sygnalizowana w sposób pokazany na rys. 1.
W przypadku niepomyślnie wykonanej transmisji
danych wyświetla się komunikat błędu (patrz
rys. 2). W takiej sytuacji należy przerwać połączenie
z komputerem i ponownie rozpocząć transmisję
danych.
R
ys. 1
R
ys. 2

Table of Contents

Related product manuals