EasyManua.ls Logo

Beyerdynamic Quinta - Charging Quinta MU Units with External Adapter

Beyerdynamic Quinta
46 pages
Print Icon
To Next Page IconTo Next Page
To Next Page IconTo Next Page
To Previous Page IconTo Previous Page
To Previous Page IconTo Previous Page
Loading...
Quinta – Charger
27
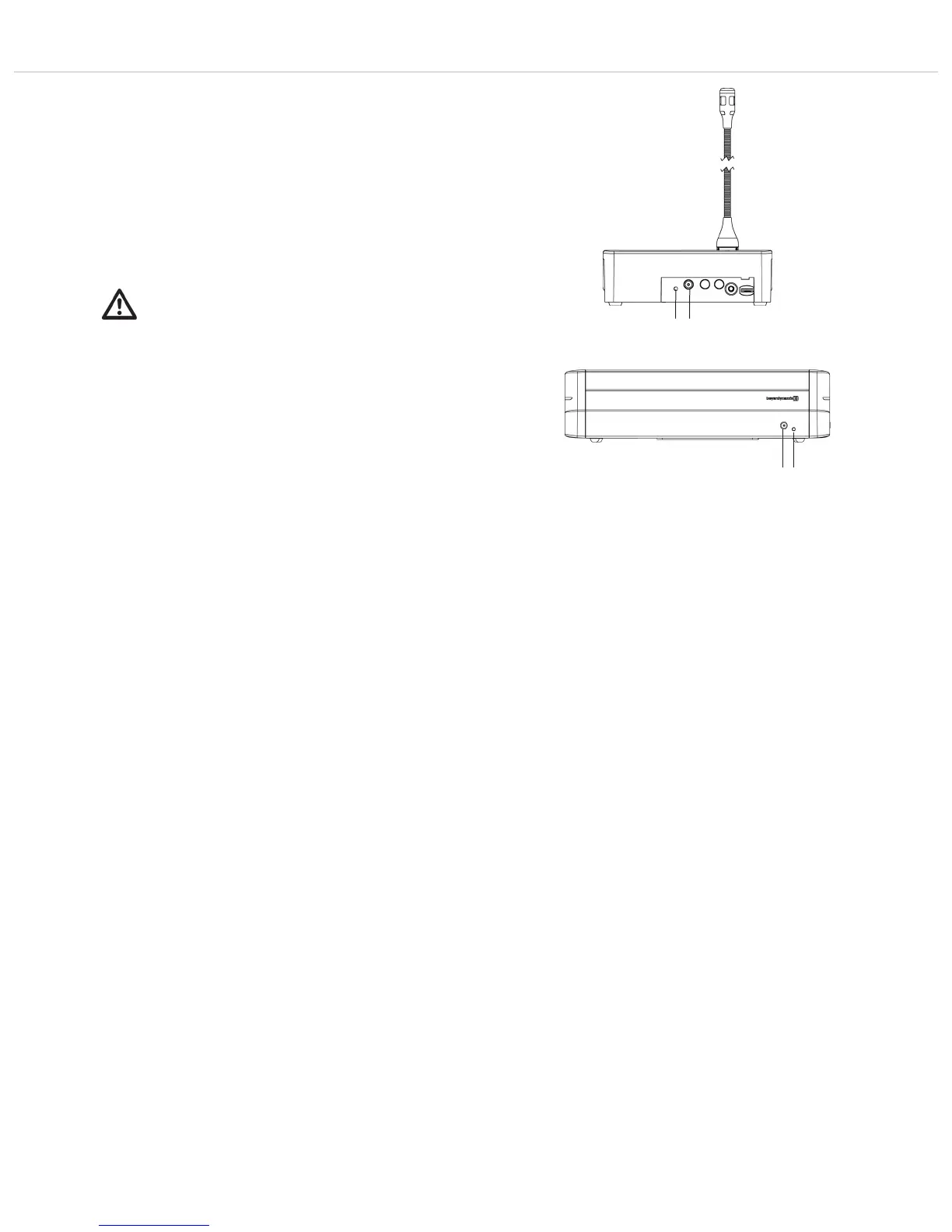
6. Battery Charging with External Mains Power Adapter
The Quinta MU microphone units can also be charged with the external
CA 2459 mains power adapter, which is connected to the DC socket .
The operating control LED will indicate the charging process:
LED indicator when the batteries are recharged:
a) LED is flashing red . . . . . . . . . . . . . Battery is charged
b) LED illuminates red permanently . . . Battery is completely full
c) LED is flashing red rapidly . . . . . . . . Error
Important:
After some time the capacity of the rechargeable
batteries is reduced technically. This will reduce the
operating time.
It is normal that the rechargeable batteries are heated
up during the charging process.
When the battery is completely empty, the charging
time is around 2.5 hours.
If the microphone unit is switched on during the
charging process, the LED will illuminate green.
Quinta MU 33/31 – Rear View
Quinta MU 23/22/21
Rear View

Table of Contents

Other manuals for Beyerdynamic Quinta

Related product manuals