EasyManua.ls Logo

Bio Bronpi HYDROBOX - Daily, Weekly, and Weekend Programs; Manual Auger Load

Bio Bronpi HYDROBOX
Print Icon
To Next Page IconTo Next Page
To Next Page IconTo Next Page
To Previous Page IconTo Previous Page
To Previous Page IconTo Previous Page
Loading...
59
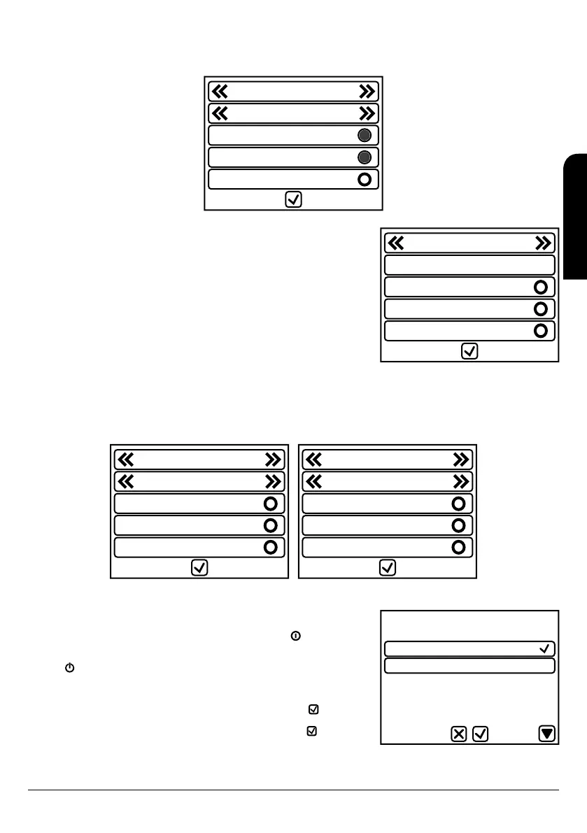
9.8.4.3. SUBMENU 4.2. DAILY PROGRAM
This submenu allows the selection of three possible hours of lighting on and three possible hours of lighting off of your boiler. Independently
of the week day: Monday, Tuesday, Wednesday, Thursday, Friday, Saturday and Sunday. You can choose only one slot of running, two or even
three slots each day.
Daily
Monday
Time 1 09:00 13:30
Tme 2 15:00 19:30
Time 3 20:45 23:15
Weekly
Monday-Sunday
Time 1 00:00 00:00
Time 2 00:45 02:00
Time 3 00:00 00:00
9.8.4.4. SUBMENU 4.3. WEEKLY PROGRAM
This submenu allows the selection of three possible hours of lighting on and three possible
hours of lighting off of your boiler for the 7 days of the week, from Monday to Sunday, but it
will do it the 7 days of the week. You can choose only one slot of running, two or even three
slots each day.
9.8.4.5. SUBMENU 4.4. WEEKEND PROGRAM
This submenu allows the selection of three possible hours of lighting on and three possible hours of lighting off of your boiler for the days
Monday, Tuesday, Wednesday, Thursday and Friday; and other three different possible hours of lighting on and off for Saturdays and
Sundays. You can choose only one slot of running, two or even three slots each day.
Week-end
Monday-Friday
Time 1 00:00 00:00
Time 2 00:00 00:00
Time 3 00:00 00:00
Wee-end
Saturday-Sunday
Time 1 00:00 00:00
Time 2 00:00 00:00
Time 3 00:00 00:00
9.8.5. MENU 5. MANUAL AUGER LOAD
Manual Load
OFF
ON
In the case the boiler during running on is out of combustible, alarm Er18 (low combustible)
will appear because your boiler has a capacitive sensor to detect the level of combustible
in the hopper. To deactivate this alarm it is necessary to press the key at least during 3
seconds and the boiler will go to stopped mode.
To initiate a new start, it is necessary refill the combustible hopper before we switch on again
the boiler , other way your boiler will not show any alarm, but it will not allow you to switch
on.
However, when the boiler is stopped and cold and the door closed it is possible to do a
pre-load of pellets during a maximum time of 600 seconds to load the auger To start this load
go to menu “manual load” and after pressing key ON and confirm with key , the auger will
automatically start moving; you will see how the smoke extractor will start during the load as
a security mode. To stop this load press the line OFF and confirm with key .
Do not forget before switching on the boiler proceed to totally empty the pellet burner to
avoid a dangerous situation.
EN
INSTALLATION, OPERATING AND SERVICING INSTRUCTIONS HYDROBOX, HYDROTEX AND HYDROCONFORT

Table of Contents