EasyManua.ls Logo

Biohit PROLINE Prospenser - Page 23

Biohit PROLINE Prospenser
45 pages
Print Icon
To Next Page IconTo Next Page
To Next Page IconTo Next Page
To Previous Page IconTo Previous Page
To Previous Page IconTo Previous Page
Loading...
– 22 –
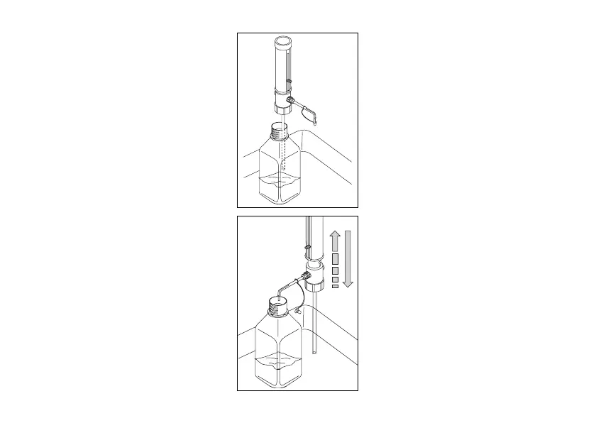
1. Push on the closure cap.
2. Empty and unscrew the instrument
from the bottle and lift the instrument
so that the fi lling tube is out of the
liquid but still in the bottle.
3. Carefully tap the fi lling tube against
the bottle from the inside so that the
reagent runs back into the bottle.
1. Verschlusskappe aufstecken.
2. Gerät entleeren und von der Flasche
abschrauben und so weit abheben,
bis sich das Ansaugrohr nicht mehr
im Reagenz, aber noch in der Flasche
befi ndet.
3. Ansaugrohr vorsichtig innen gegen die
Flasche klopfen, damit das Reagenz
herausläuft.
4. Verschlusskappe abziehen, restliches
Reagenz durch wiederholtes Dosieren
in die Flasche zurück dosieren.
5. Gerät auf andere Flasche, gefüllt mit
geeignetem Reinigungsmittel, auf-
schrauben.
6. Gerät spülen.
7. Flasche entleeren, spülen und mit
Wasser füllen. Vorgang 6 und 7
wiederholen.
8. Gerät entleeren.
4. Remove the closure cap, and dispense
the remaining reagent into the bottle
by repeated piston operation.
5. Mount the instrument onto another
bottle fi lled with an appropriate clea-
ning solution.
6. Flush the instrument.
7. Empty the bottle, fl ush it and fi ll it
with water. Repeat step 6 and 7.
8. Empty the instrument.
Artisan Technology Group - Quality Instrumentation ... Guaranteed | (888) 88-SOURCE | www.artisantg.com

Related product manuals