EasyManua.ls Logo

BK Precision 1901B - Analog Remote Control Setup

BK Precision 1901B
37 pages
Print Icon
To Next Page IconTo Next Page
To Next Page IconTo Next Page
To Previous Page IconTo Previous Page
To Previous Page IconTo Previous Page
Loading...
19
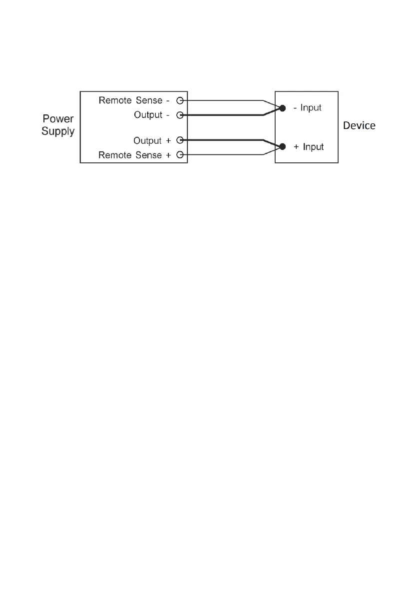
Figure 3 shows typical connection between power supply and device for remote
sense operation.
Figure 3 - Remote Sense Connection
The remote sense wire gauge should be at least 22AWG.
4.3.2 Disconnection
WARNING: Wrong disconnect sequence will damage the power supply.
1. Disconnect the remote sense connections.
2. Disconnect the power connections between the power supply and
equipment.
5 Remote Control
There are two methods to remotely control voltage and current.
Note: Both methods require the remote control connector plug to be set up in order
for analog remote control mode to be functional; otherwise the unit will be in CC
mode all the time.

Other manuals for BK Precision 1901B

Related product manuals