EasyManua.ls Logo

BKI FH-28 - Page 22

BKI FH-28
32 pages
Print Icon
To Next Page IconTo Next Page
To Next Page IconTo Next Page
To Previous Page IconTo Previous Page
To Previous Page IconTo Previous Page
Loading...
Ventless Hood System Replacement Parts
20
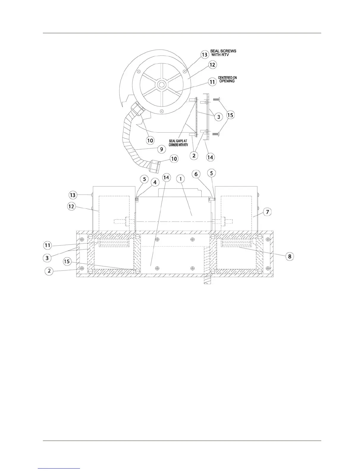
Figure 2. Blower Motor Assembly

Related product manuals