EasyManua.ls Logo

Black Box ACU5800A Wizard DP - 3.4 Transmitter Audio Connections

Black Box ACU5800A Wizard DP
44 pages
Print Icon
To Next Page IconTo Next Page
To Next Page IconTo Next Page
To Previous Page IconTo Previous Page
To Previous Page IconTo Previous Page
Loading...
Chapter 3: Installation
724-746-5500 | blackbox.com
Page 17
3.2.3 Transmitter audio connections
The Wizard DP Extender units support analog and digital audio. Line in and line out connectors are provided on both the trans-
mitter and receiver units. Additionally, the receiver has dedicated headphone and microphone jacks on its front panel.
The Line In socket on the transmitter and the Line Out socket on the receiver are dual purpose. They can accept either
3.5mm analog jacks or mini-TOSLINK optical fibre connectors. The latter provide access to the optical
S/PDIF (Sony/Philips Digital InterFace) capabilities supported by the Wizard DP Extender system, which transmits PCM (Pulse Code
Modulation) audio at 96KHz. The digital and analog channels run independently alongside each other via the CATx link.
Third party adaptors (not supplied) are available to convert between the mini-TOSLINK connections used on the Wizard DP
Extender units and the more common full size TOSLINK connectors found on many audio/visual devices.
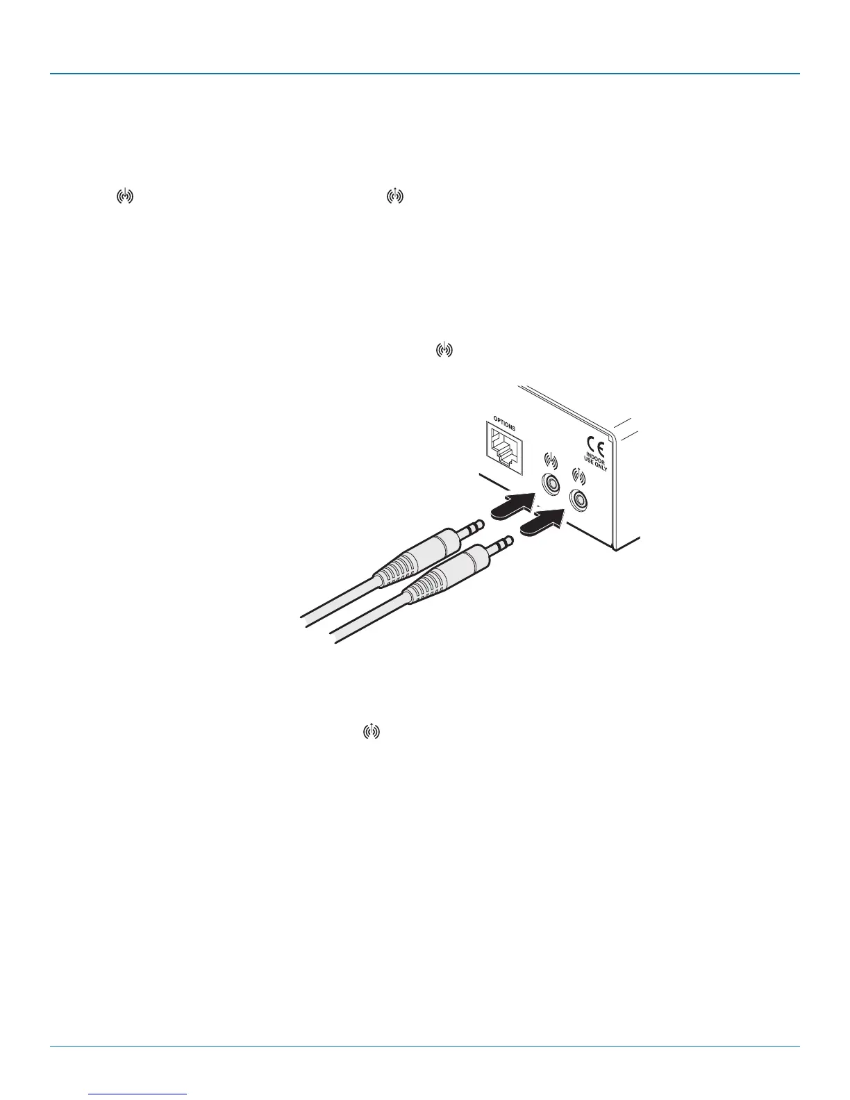
3.2.3.1 To connect analog audio
1 Use the supplied 3.5mm jack audio cable to connect the Line In socket on the transmitter to the analog Line Out or speaker
socket of the host computer.
From the host
computer’s
Line Out or
speaker sock-
et
2 If a microphone or other audio input is required (from the Wizard DP Extender receiver back to the host computer), use anoth-
er 3.5mm jack audio cable to connect the Line Out socket on the transmitter to the analog Line In socket of the host com-
puter
From the host
computer’s
Line In socket

Related product manuals