EasyManua.ls Logo

Bosch 830ES - Page 54

Bosch 830ES
107 pages
Print Icon
To Next Page IconTo Next Page
To Next Page IconTo Next Page
To Previous Page IconTo Previous Page
To Previous Page IconTo Previous Page
Loading...
12 | Installation instructions
C 1210 ES/ESC6 720 644 887 (2013/02)
4.3.1 Vent material
All combustion air and vent pipe materials and fittings must comply with
the following:
For specific questions concerning vent material, specifications,
usage or installation, please contact the vent manufacturer directly.
All vent connections must be glued, except for the exhaust accessory
(chapter 4.3.4) which is screwed into place on the top of the
appliance. Slide the vent pipe into the exhaust accessory. The exhaust
pipe must be properly supported and must be pitched a minimum of a ¼
inch per foot back to the appliance. This allows the condensate to drain
properly.
An optional concentric vent/air intake termination can be used for the
installation of a vertical or horizontal venting system. (see fig. 8).
The concentric vent/air intake body can be ordered from your local
wholesaler. (Part# 196016).
The appliance can also be installed with separate air intake and exhaust
piping (see fig. 11, fig. 18 and fig. 19, page 19).
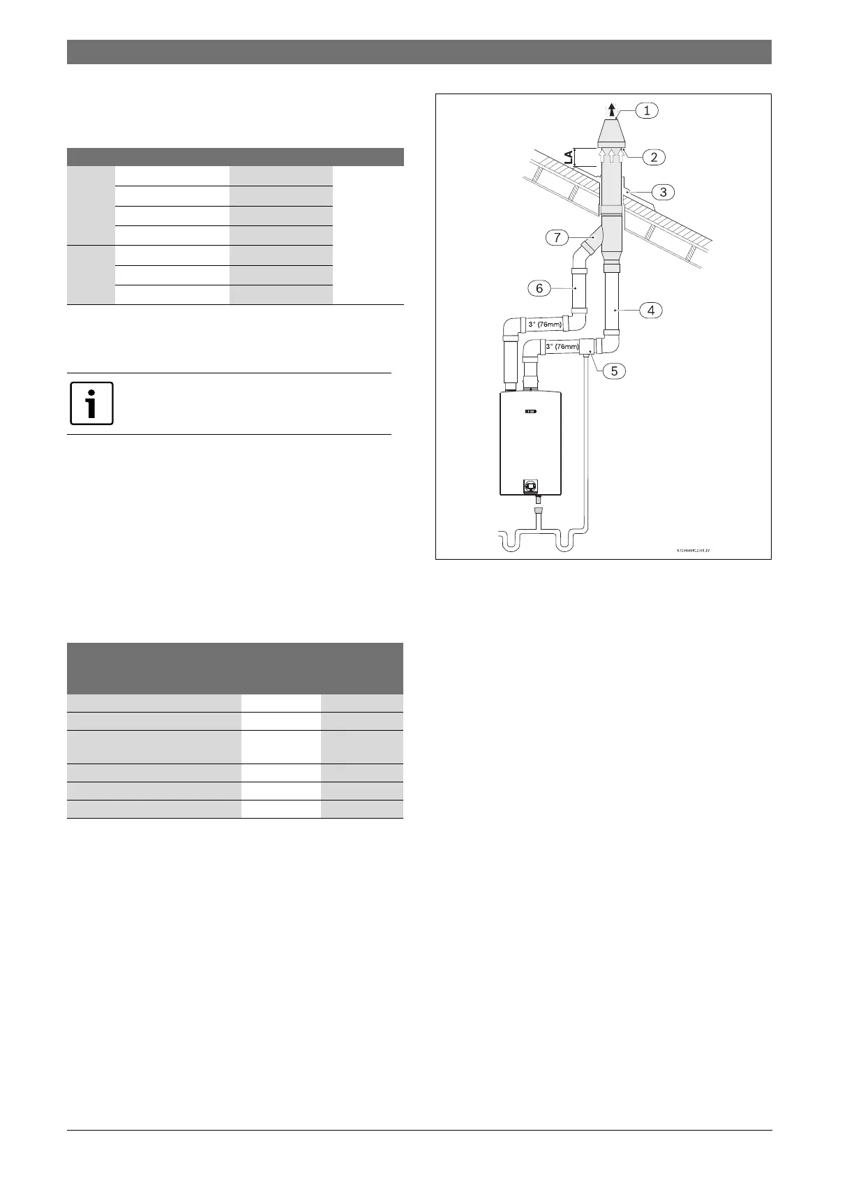
Fig. 8 Concentric vent kit example
[1] Exhaust
[2] Combustion air
[3] Roof boot/flashing (field supplied)
[4] Exhaust pipe
[5] Drain tee (196278)
[6] Intake pipe
[7] Concentric vent kit (196016)
[LA] Maintain 12 in. (18 in. for Canada) minimum clearance above
highest anticipated snow level maximum of 24 in. above roof
Item Material United States Canada
Vent or
air pipe
and
fitting
PVC schedule 40 ANSI/ASTM D1785 CSA or ULC
certified only
(ULC-S636)
PVC-DWV ANSI/ASTM D2665
CPVC schedule 40
ANSI/ASTM F441
ABS-DWV schedule
ANSI/ASTM D2661
Pipe
cement
/ primer
PVC ANSI/ASTM D2564
CPVC ANSI/ASTM F493
ABS
ANSI/ASTM D2235
Table 5 Approved vent material
Do not use cellular foam core pipe.
Description Length
Kit part no. and
quantity
196016
3- In. Rain Cap N/A 1
4- In. Diameter SDR-26 Pipe 24 In. long 1
3- In. Y
Concentric Fitting
N/A 1
2- ½ In. Diameter SDR-26 Pipe 37-1/8 in. long 1
3- In. Condensate drain Tee N/A 1
1.5- In. Condensate drain bushing N/A 1
Table 6 Concentric vent part breakdown

Table of Contents

Other manuals for Bosch 830ES

Related product manuals