EasyManua.ls Logo

Bosch C 950 - Page 30

Bosch C 950
88 pages
Print Icon
To Next Page IconTo Next Page
To Next Page IconTo Next Page
To Previous Page IconTo Previous Page
To Previous Page IconTo Previous Page
Loading...
Installation instructions
C 950/C 1050 (Pro TL 175 C/199 C) – 6 720 805 440 (2019/10)
30
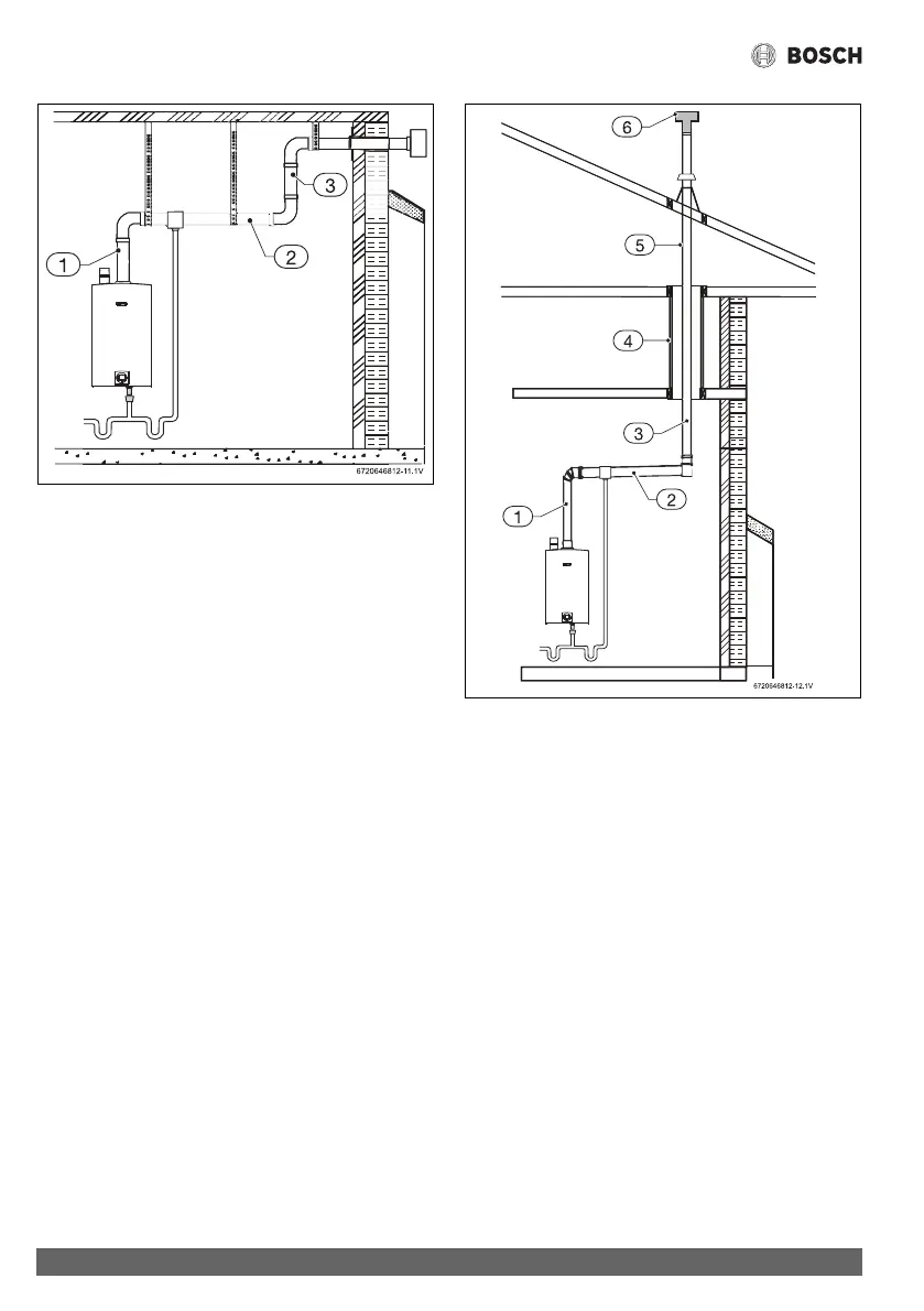
Fig. 24
[1] Good
[2] Better
[3] Best
Fig. 25
[1] Good
[2] Better
[3] Best
[4] Enclosed vent pipe (Do not install damper)
[5] Unconditioned space (Do not install damper)
[6] Preferred damper position for vertical terminations

Table of Contents

Other manuals for Bosch C 950

Related product manuals