EasyManua.ls Logo

BÖWE P 300 - 2 Machine Side Profile

Default Icon
50 pages
Print Icon
To Next Page IconTo Next Page
To Next Page IconTo Next Page
To Previous Page IconTo Previous Page
To Previous Page IconTo Previous Page
Loading...
5
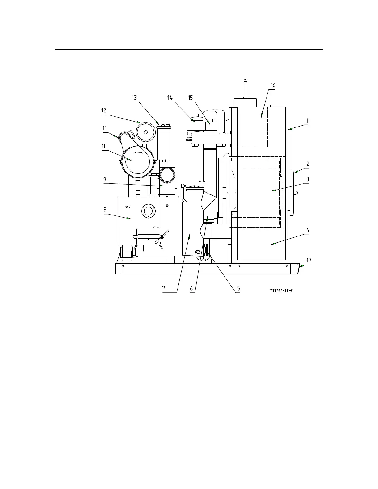
2. Machine side profile
Slimline
1 Control box 10 ECO-filter
2 Loading door 11 Filter drive
3 Cage 12 Adsorption cartridge filter*
4 Tanks 13 Condenser
5 Solvent pump 14 Refrigeration unit
6 Cage drive 15 Fan
7 Lint filter /button trap 16 Recovery section
8 Still 17 Solvent safety trough
9 Water separator
*Option USA-Standard

Related product manuals