EasyManua.ls Logo

Bristan Sonique - Installation Requirements; Gravity Fed System Headroom Requirement; Pumped System Essex Flange Recommendation; Flushing Pipework Before Installation

Bristan Sonique
32 pages
Print Icon
To Next Page IconTo Next Page
To Next Page IconTo Next Page
To Previous Page IconTo Previous Page
To Previous Page IconTo Previous Page
Loading...
Installation Requirements
This shower valve must be installed in
compliance with current water regulations.
If you have any doubts about the water
regulation requirements contact your local
water services provider or use the services
of a professional plumber.
This shower valve is suitable for use with
the following water supply systems.
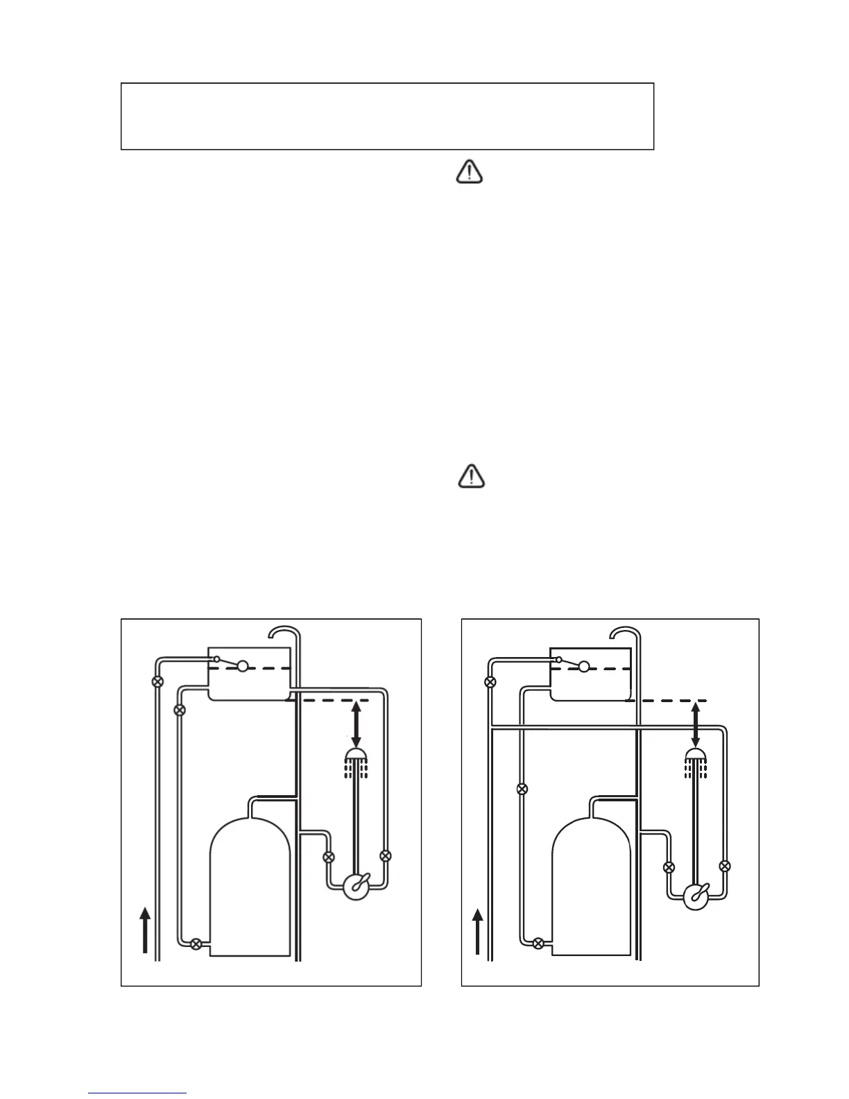
Gravity Fed Hot and Cold
Gravity Fed Hot and ColdGravity Fed Hot and Cold
Gravity Fed Hot and Cold
(pressure Balanced)
Gravity Fed Hot and Mains Cold
Gravity Fed Hot and Mains ColdGravity Fed Hot and Mains Cold
Gravity Fed Hot and Mains Cold
(differential pressure – see Specification
section on page 6.
Instantaneous Water Heater
Instantaneous Water HeaterInstantaneous Water Heater
Instantaneous Water Heater
(combination boiler)
Unvented System
Unvented SystemUnvented System
Unvented System
Pumped System
Pumped SystemPumped System
Pumped System
Important:
Important: Important:
Important: If you install this shower
valve with a gravity fed system, there must
be a minimum head (vertical distance)
from the underside of the cold water
storage tank to the showerhead position of
at least 1 metre.
Note: Pumped system (with Essex
Note: Pumped system (with Essex Note: Pumped system (with Essex
Note: Pumped system (with Essex
flange)
flange) flange)
flange) If you install this shower valve to a
pumped gravity fed system where the
minimum head (vertical distance) from the
underside of the cold water storage tank to
the top of the hot water cylinder is less
than 1 metre we recommend an Essex
flange is used as shown on page 10.
Flushing Pipework
Flushing PipeworkFlushing Pipework
Flushing Pipework
Important:
Important: Important:
Important: Before connecting the
shower valve (see Installation on pages 16-
17), supply pipework must
must must
must be flushed to
clear debris before connecting the shower
Gravity Fed Hot and Cold
Gravity Fed Hot and ColdGravity Fed Hot and Cold
Gravity Fed Hot and Cold
and life of the shower.
Gravity Fed Hot and Mains Cold
Gravity Fed Hot and Mains ColdGravity Fed Hot and Mains Cold
Gravity Fed Hot and Mains Cold
Cold mains supply
Cold mains supply
1m min
1m
min
9
Need help?
Need help? Need help?
Need help? Give us a call on 0844 701 6273
0844 701 6273 0844 701 6273
0844 701 6273 and speak to one of our trained advisors.

Related product manuals