EasyManua.ls Logo

Brooks ATR60LF - SEMI E99 Standard

Brooks ATR60LF
106 pages
Print Icon
To Next Page IconTo Next Page
To Next Page IconTo Next Page
To Previous Page IconTo Previous Page
To Previous Page IconTo Previous Page
Loading...
Brooks Automation
260301 Revision A 65
ATR60LF RFID Reader CAN Bus 7 Operation
Product Manual 7.5 Operation of the SECS Protocol
7.5.6 SEMI E99
Introduction The purpose of the Carrier ID reader/writer functional standard is to
provide a common specification for concepts, behavior and services
provided by a carrier ID reader/writer to an upstream controller. A standard
interface increases the interchangeability of a carrier ID reader/writer, so
that users and equipment suppliers have a wide choice.
Scope:
The interface standard addresses the functional requirements for a
generic carrier ID reader/writer interface with an upstream
controller.
The specification includes the required behavior and required
communications for a carrier ID reader and writer.
The specification does not require, define or prohibit asynchronous
messages sent by the carrier ID reader or writer.
This standard does not purport to address safety issues, if any,
associated with its use.
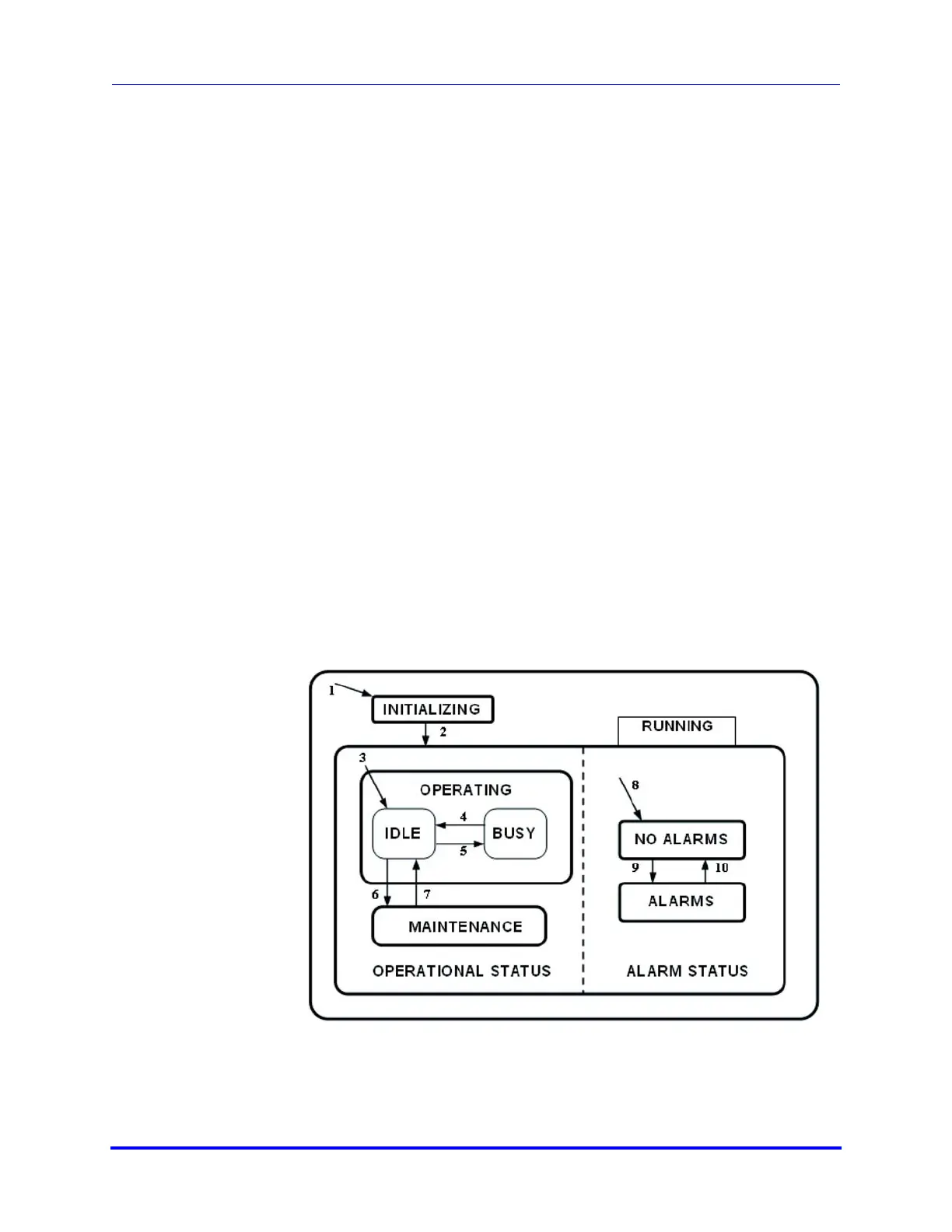
Status models To facilitate independent control of the individual heads, there are two
separate status models defined, one for the CIDRW subsystem and one for
each individual head. The BROOKS reader combines the CIDRW subsystem
with the head.
The status model for the BROOKS reader is displayed in the status model
below.

Table of Contents

Related product manuals