EasyManua.ls Logo

Brother EF4-V41 - Page 73

Brother EF4-V41
97 pages
Print Icon
To Next Page IconTo Next Page
To Next Page IconTo Next Page
To Previous Page IconTo Previous Page
To Previous Page IconTo Previous Page
Loading...
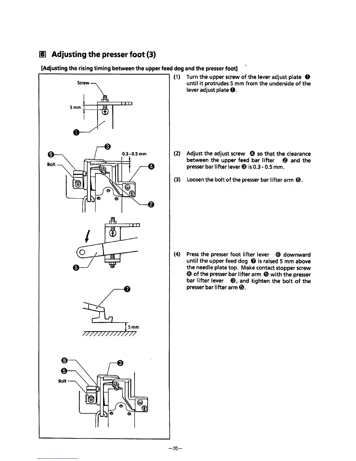
[I] Adjusting the
presser
foot
(3)
[Adjusting
the
rising
timing
between
the
upper feed dog and
the
presser
foot]
Bolt
(1) Turn
the
upper screw
of
the
lever adjust plate 0
Screw
until
it
protrudes 5 mm
from
the
underside
of
the
0.3-0.5
mm
I
lever adjust plate
0.
(2) Adjust
the
adjust screw 9
so
that
the
clearance
between
the
upper feed bar
lifter
@ and
the
presser bar
lifter
lever@)
is
0.3-
0.5 mm.
(3)
Loosen
the
bolt
of
the
presser bar
lifter
arm
0.
(4)
Press
the
presser
foot
lifter
lever
(9
downward
until
the
upper feed dog 8
is
raised 5 mm above
the
needle plate
top.
Make contact stopper screw
@)of
the
presser bar
lifter
arm 0
with
the
presser
bar
lifter
lever
@),
and
tighten
the
bolt
of
the
presser bar
lifter
arm
0.
-70-
From the library of: Superior Sewing Machine & Supply LLC

Table of Contents

Related product manuals