EasyManua.ls Logo

Bryant 935SA - Page 18

Bryant 935SA
60 pages
Print Icon
To Next Page IconTo Next Page
To Next Page IconTo Next Page
To Previous Page IconTo Previous Page
To Previous Page IconTo Previous Page
Loading...
935SA: Installation, Start-up, Operating and Service Maintenance Instructions
Manufacturer reserves the right to change, at any time, specifications and designs without notice and without obligations.
18
A200426
Fig. 28 – Upflow Return Air Configurations and Restrictions
NOTE: For Upflow Right Side Return, use upflow offset installation for
condensate trap.
A200425
Fig. 29 – Horizontal Return Air Configurations and Restrictions
Bottom Return Air Inlet
These furnaces are shipped with bottom closure panel installed in bottom
return-air opening. Remove and discard this panel when bottom return
air is used. To remove bottom closure panel (see Fig. 34).
Side Return Air Inlet
These furnaces are shipped with bottom closure panel installed in bottom
return-air opening. This panel MUST be in place when only side return
air is used. Where required by code, seal bottom closure to furnace with
tape, mastic or other durable sealing method.
NOTE: For allowable side returns in horizontal configurations (see
Fig. 29).
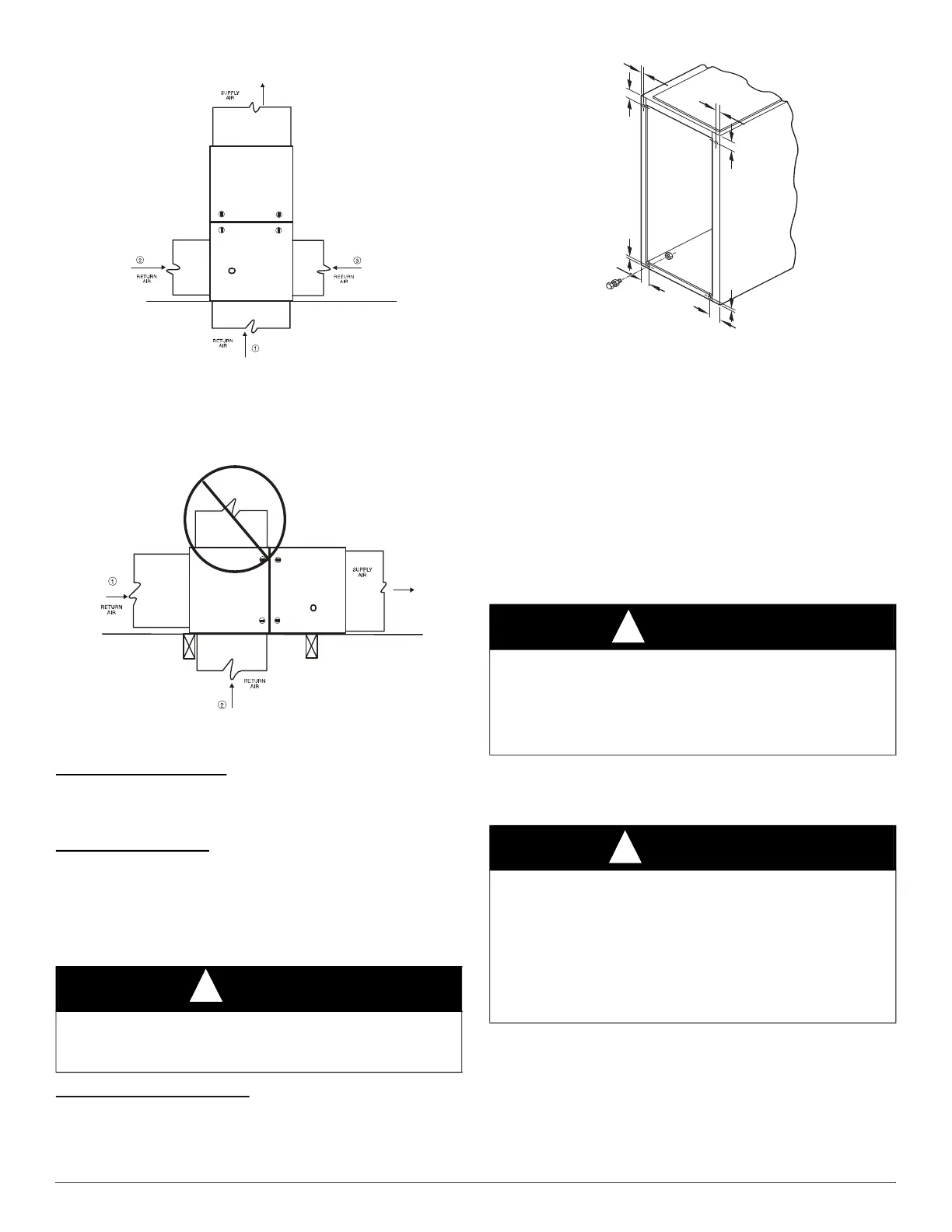
Leveling Legs (If Desired)
In upflow position with side return inlet(s), leveling legs may be used.
(see Fig. 30). Install field-supplied, 5/16 x 1-1/2 in. (8 x 38 mm) (max)
corrosion-resistant machine bolts, washers and nuts.
A89014
Fig. 30 – Leveling Legs
NOTE: Bottom closure must be used when leveling legs are used. It
may be necessary to remove and reinstall bottom closure panel to install
leveling legs. To remove bottom closure panel (see Fig. 34).
To install leveling legs:
1. Position furnace on its back. Locate and drill a hole in each bottom
corner of furnace.
2. For each leg, install nut on bolt and then install bolt with nut in
hole. (Install flat washer if desired.)
3. Install another nut on other side of furnace base. (Install flat washer
if desired.)
4. Adjust outside nut to provide desired height, and tighten inside nut
to secure arrangement.
5. Reinstall bottom closure panel if removed.
Horizontal Installation
NOTE: The furnace must be pitched forward for proper condensate
drainage (see Fig. 31).
NOTICE
!
Upflow installations utilizing the right side air return opening should
follow the Upflow Specific Steps - Offset Installation to ensure the full
opening is available for return ductwork.
NOT PERMITTED FOR
ANY MODEL
CAUTION
!
CUT HAZARD
Failure to follow this caution may result in personal injury.
Sheet metal parts may have sharp edges or burrs. Use care and wear
appropriate protective clothing, safety glasses and gloves when
handling parts, and servicing furnaces.
WARNING
!
FIRE, EXPLOSION, AND CARBON MONOXIDE
POISONING HAZARD
Failure to follow this warning could result in personal injury, death, or
property damage.
Do not install the furnace on its back or hang furnace with control
compartment facing downward. Safety control operation will be
adversely affected. Never connect return-air ducts to the back of the
furnace.
1
3
/
4
1
3
/
4
1
3/
4
1
3/
4
5/
16
5
/
16
5/
16
5/
16
(44mm)
(8mm)
(44mm)
(
8mm)
(8mm)
(8mm)
(44mm)
(44mm)

Related product manuals