EasyManua.ls Logo

Bryant B Series - Application Wiring Diagrams

Bryant B Series
12 pages
Print Icon
To Next Page IconTo Next Page
To Next Page IconTo Next Page
To Previous Page IconTo Previous Page
To Previous Page IconTo Previous Page
Loading...
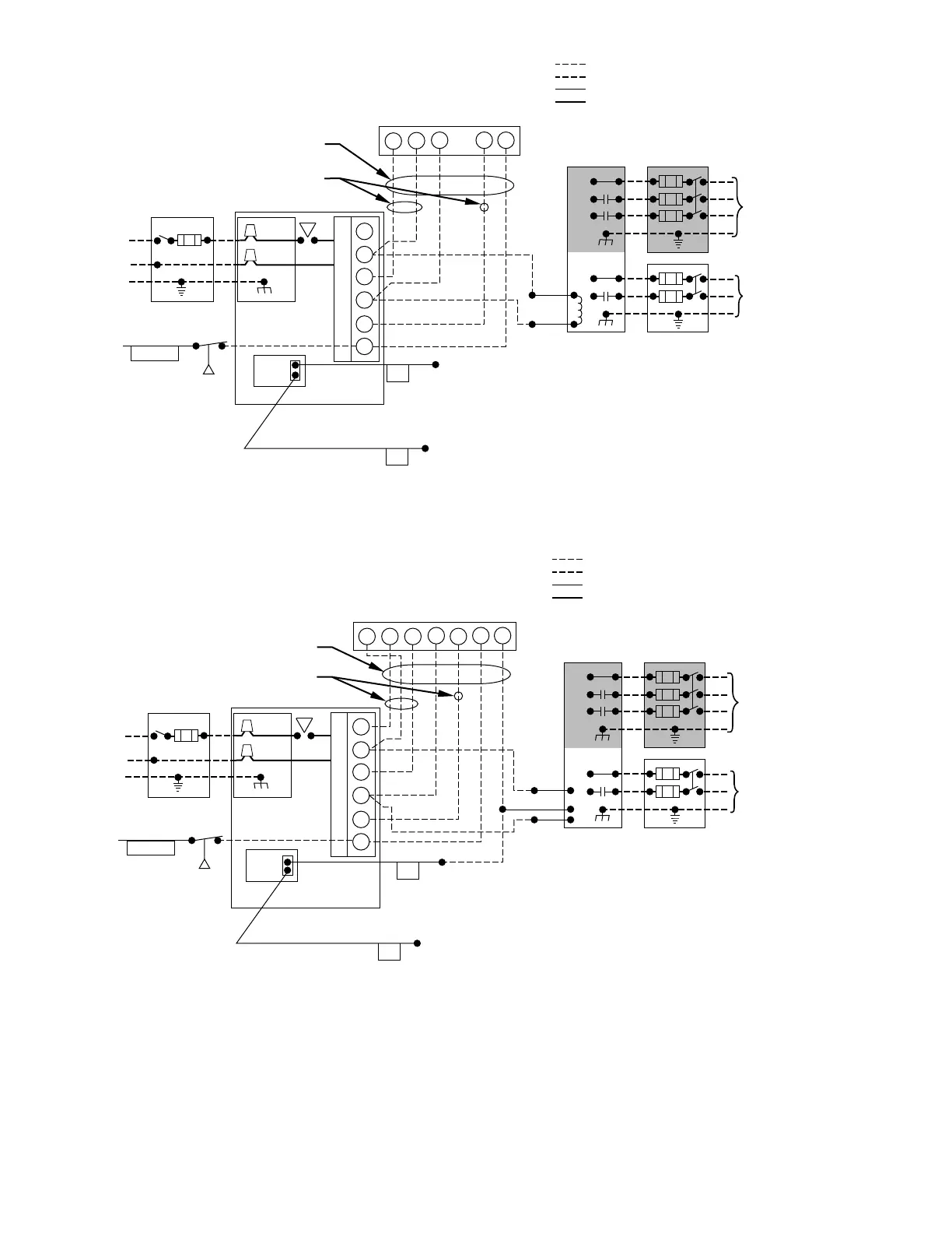
Fig. 8—Heating and Cooling Application Wiring Diagram
for 2-Stage Thermostats and/or 2-Speed Condensing Units
A99232
115-V FIELD-
SUPPLIED
DISCONNECT
JUNCTION
BOX
CONTROL
24-V
TERMINAL
BLOCK
FOUR-WIRE
HEATING-
ONLY
SEVEN
WIRE
2-STAGE
THERMOSTAT
TERMINALS
FIELD-SUPPLIED
FUSED DISCONNECT
2-SPEED
CONDENSING
UNIT
FURNACE
G
R
W2 Y2 G Y1
GND
GND
FIELD 24-V WIRING
FIELD 115-, 208/230-, 460-V WIRING
FACTORY 24-V WIRING
FACTORY 115-V WIRING
208/230- OR
460-V
THREE
PHASE
208/230-V
SINGLE
PHASE
Y2
Y1
C
WHT
BLK
WHT
BLK
W1CR
W2
COM
W/W1
Y/Y2
Y1
AFS
NOTE 2
NOTE 1
Connect Y1 and Y/Y2 as shown for proper operation.
Some thermostats require a "C" terminal connection as shown.
If any of the original wire, as supplied, must be replaced, use
same type or equivalent wire.
Connect O to thermostat-O only for heat pump applications.
Field-supplied humidistat for dehumidification in cooling (optional).
NOTES: 1.
2.
3.
4.
5.
NOTE 4
O
NOTE 5
GREEN
DEHUM
Fig. 7—Heating and Cooling Application Wiring Diagram
for Single-Stage Thermostats and/or Single-Speed Condensing Units
A99231
GREEN
DEHUM
115-V FIELD-
SUPPLIED
DISCONNECT
JUNCTION
BOX
CONTROL
24-V
TERMINAL
BLOCK
THREE-WIRE
HEATING-
ONLY
FIVE
WIRE
NOTE 2
NOTE 1
1-STAGE
THERMOSTAT
TERMINALS
FIELD-SUPPLIED
FUSED DISCONNECT
CONDENSING
UNIT
FURNACE
NOTE 4
NOTE 5
Y1
AFS
COM
R
WCY RG
GND
GND
FIELD 24-V WIRING
FIELD 115-, 208/230-, 460-V WIRING
FACTORY 24-V WIRING
FACTORY 115-V WIRING
Connect Y/Y2-terminal as shown for proper operation.
Some thermostats require a "C" terminal connection as shown.
If any of the original wire, as supplied, must be replaced, use
same type or equivalent wire.
Y1 is not to be connected.
Connect O to thermostat-O only for heat pump applications.
Field-supplied humidistat for dehumidification in cooling (optional).
208/230- OR
460-V
THREE
PHASE
208/230-V
SINGLE
PHASE
WHT
BLK
WHT
BLK
W/W1
W2
Y/Y2
G
NOTES: 1.
2.
3.
4.
5.
6.
O
NOTE 6
—6—

Related product manuals