EasyManua.ls Logo

Bryant PLUS 90X 353AAV - Page 7

Bryant PLUS 90X 353AAV
22 pages
Print Icon
To Next Page IconTo Next Page
To Next Page IconTo Next Page
To Previous Page IconTo Previous Page
To Previous Page IconTo Previous Page
Loading...
7
17
5
16
"
24
1
2
"
27
9
16
"
TYP
27
5
8
"
29
1
1
16
"
TY
P
30
13
16
"
32
5
8
"
TY
P
33
1
4
"
TYP
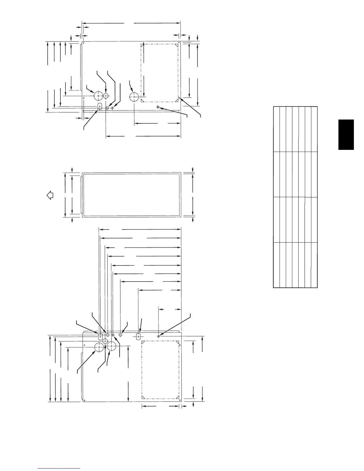
CONDENSATE
DRAIN TRAP
LOC
ATION
(
ALTERN
A
TE
UPF
LOW)
7
8
-IN
. DIA
ACCESSOR
Y
POWER ENT
R
Y
7
8
-IN. DIA
POWER CONN
CONDENS
ATE DRAIN
TRAP
LOC
ATION
(D
OWNFL
O
W &
HORIZONTAL LEFT)
26
15
16
"
24
1
2
"
22
5
16
"
2
-IN.
COM
BUSTION-
AIR CONN
1
2
-IN. DIA
GAS CONN
2
-IN
.
VEN
T
CONN
1
2
-IN
. DIA
THERMOST
A
T
ENT
RY
22
1
1
16
"
SIDE INLET
23
1
4
"
TY
P
SIDE INLET
1
1
4
"
1"
E
INLE
T
11
16
"
11
16
"
D
13
16
"
13
16
"
OUTLET
A
AIRF
LOW
OUTLET
26
15
16
"
28
1
2
"
22
5
16
"
19
"
13
16
"
5
8
"
5
16
"
1"
39
7
8
"
22
1
4
" TYP
11
16
"
7
16
"
24
3
16
"
B
O
T
TOM INLET
18
1
4
"
22
1
1
16
"
CONDENS
ATE DRAIN
TRA
P
LOCATION
(DO
WNF
LOW &
HORIZONTAL RIGHT)
OR AL
TERN
A
TE
1
2
-IN. DI
A GAS CONN
2-IN. COMBUSTION-
AIR CONN
1
2
-IN
.
DI
A
GAS CONN
7
8
-IN. DIA
PO
WER CONN
1
2
-IN
.
DI
A
THERMOS
TAT
EN
TRY
2-IN
.
VEN
T
CONN
DIMPLE LOCATORS
FOR HORIZONTAL
HANGING
14
1
2
"
TY
P
SIDE INLET
NOTES: 1. Minim
um retu
r
n-air openings at furnace, based on metal duct. If flex duct is used,
see flex duct ma
n
u
f
acturer‘s recommendation for equi
v
alent diameter
s
.
2. Mini
m
um retu
rn-air opening at furnace:
a. For 800 CFM 16-in . (406mm)
round or 14
1
/
2
(368mm)
x 12-in
. (305mm)
rectangl
e.
b. For 1200 CFM 20-in . (508mm)
round or 14
1
/
2
(368mm)
x 19
1
/
2
-in. (495mm) rectangle
.
c. For 1600 CFM 22-in .(559mm)
round or 14
1
/
2
(368mm)
x 23
1
/
4
-in
.(591mm)
rectangl
e
.
d. For airflow requirements ab
o
ve 1800 CFM, see Air Delive
r
y table in Product Data
lite
r
ature for specific use of single side inlet
s. The use of both side inlets, a
combination of 1 side and the bottom, or the bottom only will e
nsure adequate
return air openings for airflow requirements above 1800 CFM at 0.5 in. W.C. ESP.
9
7
16
"
TYP
26
15
16
"
TY
P
CONDENS
A
TE
DRAIN LOC
A
TION
(UPFLOW)
30
1
2
"
9
16
"
TYP
CONDENSATE
DRAIN LOC
ATION
(UPF
L
O
W)
26
1
4
"
26
1
4
"
(684mm)
(667mm)
(666mm)
(567mm)
(51mm)
(51mm)
(13mm)
(13mm)
(576mm)
(368mm)
(32mm)
(25mm)
(591mm)
(684mm)
(240mm)
(440mm)
(622mm)
(700mm)
(702mm)
(754mm)
(783mm)
(829mm)
(845mm)
(22mm)
(22mm)
(21mm) (21mm)
(17mm)
(17mm)
(464mm)
(775mm)
(565mm)
(614mm)
(25mm)
(1
1mm)
(17mm)
(1013mm)
(8mm)
(16mm)
(21mm)
(14mm)
(483mm)
(567mm)
(667mm)
(694mm)
(724mm)
UNIT SIZE A D E
040-12 / 036040 17-1/2 (
445) 15-7/8 (403) 16 (406)
060-12 / 036060 17-1/2 (445) 15-7/8 (4
03) 16 (406)
080-12 / 036080 17-1/2 (445) 15-7/8 (
40
3) 16 (406)
080-16 / 048080 17-1/2 (445) 15-7/8 (403) 16 (406)
100-20 / 060100 21 (25.4) 19-3/8 (492) 19-1/2 (
4
95)
120-20 / 060120 24-1/2 (622)
22-7/8 (581) 23 (584)
A08321
353AAV

Related product manuals