EasyManua.ls Logo

BSR EQ-3000 - Signal Process; Spectrum D I S P L a y

BSR EQ-3000
18 pages
Print Icon
To Next Page IconTo Next Page
To Next Page IconTo Next Page
To Previous Page IconTo Previous Page
To Previous Page IconTo Previous Page
Loading...
!
I
I
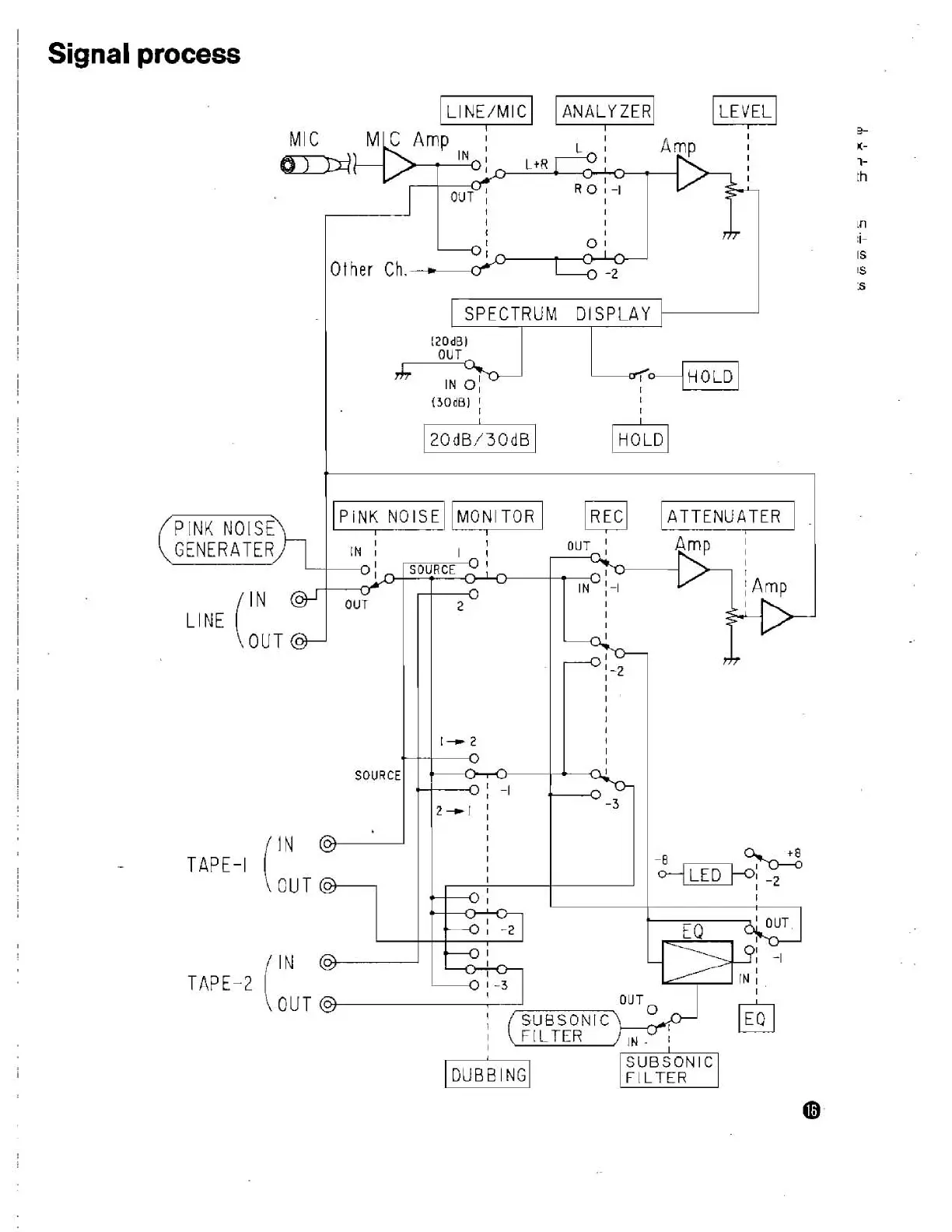
Signal
process
1
SPECTRUM
DISPLAY
~
I
MI
C
M
C
Amp
I
L
I I
@TH&>
=
L+R
fi
,
-
I
1
IN
I
I!
I
I
I
OUT
@-
m
ouT<
Ro
I I
-1
I I
I
I
I
I
0
1
Other
Ch.
L
SOURCE
[-2
0
TAPE-I
I
I
I
I
I
I
I
I
0;
-1
2-1
I
I
I
I
I
I
I
IN
@
n
V
I
I
TAPE-2
o
1-3
\
OUT
IN
I