EasyManua.ls Logo

BSS Audio FDS 310 - Activating Equalisation

BSS Audio FDS 310
40 pages
Print Icon
To Next Page IconTo Next Page
To Next Page IconTo Next Page
To Previous Page IconTo Previous Page
To Previous Page IconTo Previous Page
Loading...
29
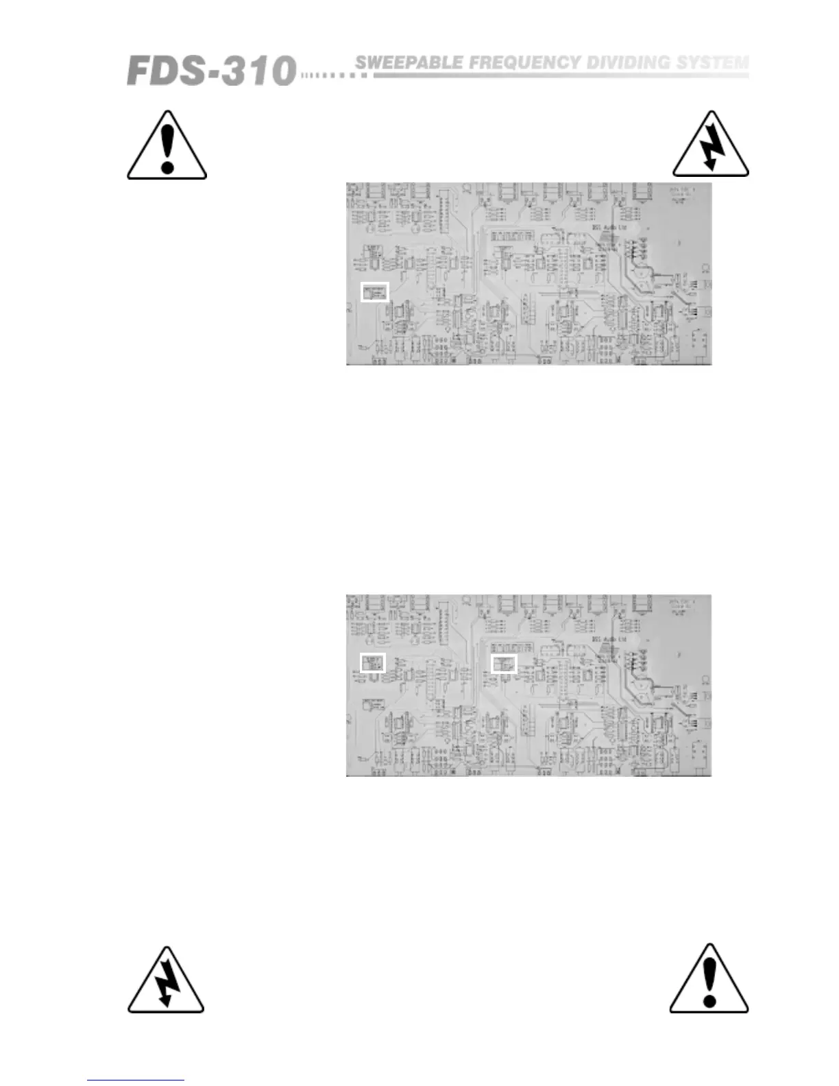
Fig 22.2 Locating the
MONO LOW/LINKING
switch
To activate the equalisation:
• Disconnect the mains power and remove the top cover plate.
• Locate the 3-pin programming plug on the left side of the main PCB,
marked 'CD HORN EQ - OUTPUT 2', and 'CD HORN EQ - OUTPUT 4' in the
centre of the PCB. Refer to the table in section 14 to decide which jumper(s)
will be changed, according to the present operating mode, and your
requirements.
• The jumper is factory fitted in the 'EQ OUT' position. Slide it out and
replace it firmly, so that it bridges the 'EQ IN' position.
• Now replace the cover plate and reconnect the mains power.
Fig 22.3 Locating
the CD HORN EQ
switches
22.3 Activating
Equalisation
!!! CAUTION - Important Notes !!!
SERVICE SECTION
!!! WARNING - Refer all servicing to qualified service personnel !!!
Risk of electric shock if the unit is opened.
BSS Audio accepts no responsibility for injury
subsequent to opening of the unit.

Related product manuals