EasyManua.ls Logo

Burnham Series 2B - Dimensions

Burnham Series 2B
52 pages
Print Icon
To Next Page IconTo Next Page
To Next Page IconTo Next Page
To Previous Page IconTo Previous Page
To Previous Page IconTo Previous Page
Loading...
3
WARNING
READ THESE INSTRUCTIONS CAREFULLY BEFORE PROCEEDING WITH THE INSTALLATION OF BOILER.
POST INSTRUCTIONS NEAR BOILER FOR REFERENCE BY OWNER AND SERVICE TECHNICIAN. MAINTAIN
INSTRUCTIONS IN LEGIBLE CONDITION.
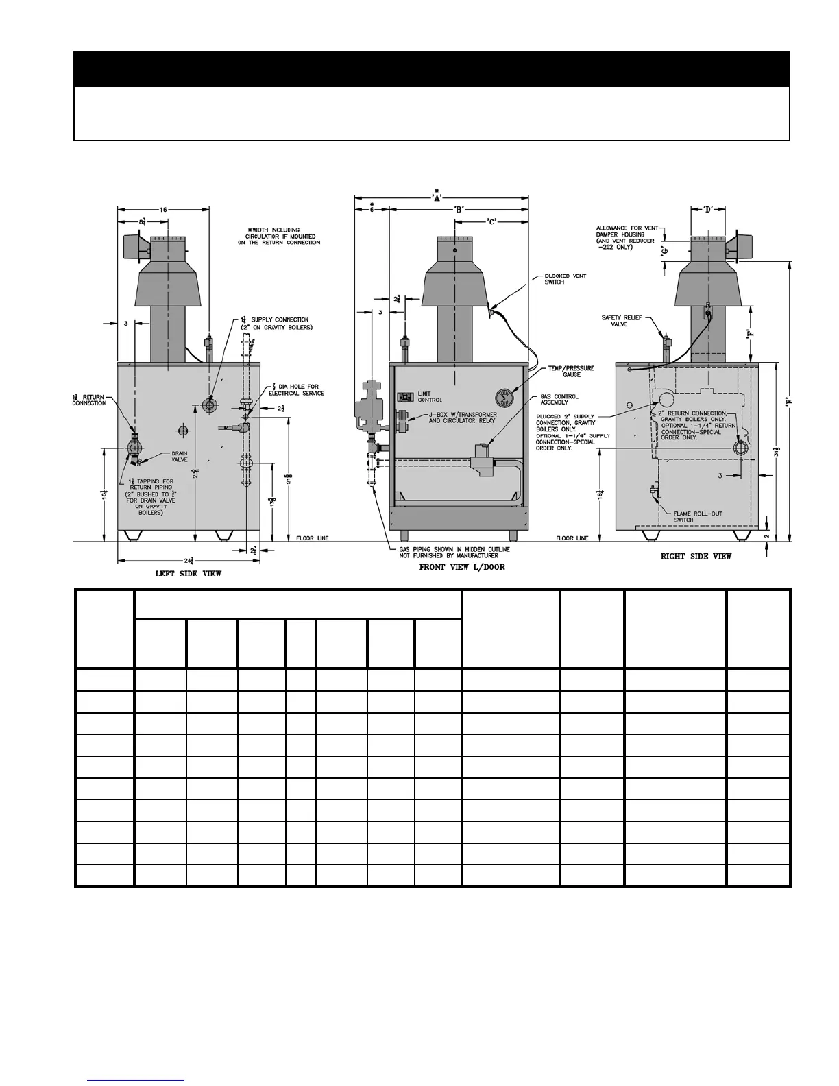
Boiler
Model
Number
Dimensions [Inches] Gas
Connection
For Automatic
Gas Valve
Water
Content
[gallons]
Recommended
Vent Size
[1] [2]
Approx.
Shipping
Weight
[lb.]
A B C D E F G
202 18-3/4 10-3/4 6-3/8 4 45-5/8 8-1/2 10 [3] 1/2 2.5 3" dia. x 15 ft. 212
202X 20 12 6 4 45-5/8 8-1/2 4-3/4 1/2 3.2 4" dia. x 15 ft. 262
203 20 12 6 4 45-5/8 8-1/2 4-3/4 1/2 3.2 4" dia. x 15 ft. 262
204 23-1/4 15-1/4 7-5/8 5 47-1/8 9-1/8 4-3/4 1/2 4 5" dia. x 15 ft. 306
205 26-1/2 18-1/2 9-1/4 6 48-1/2 9-3/4 5-1/4 1/2 4.7 6" dia. x 15 ft. 354
206 29-3/4 21-3/4 10-7/8 6 48-1/2 9-3/4 5-1/4 1/2 5.5 6" dia. x 15 ft. 414
207 33 25 12-1/2 7 50-1/8 10-3/8 6-5/8 3/4 6.2 7" dia. x 15 ft. 458
208 36-1/4 28-1/4 14-1/8 7 50-1/8 10-3/8 6-5/8 3/4 7 7" dia. x 15 ft. 514
209 39-1/2 31-1/2 15-3/4 8 52 11 7-1/4 3/4 7.7 8" dia. x 15 ft. 550
210 42-3/4 34-3/4 17-3/8 8 52 11 7-1/4 3/4 8.5 8" dia. x 15 ft. 608
[1] 15' chimney height is from bottom of draft hood opening to top of chimney.
[2] Refer to the National Fuel Gas Code for equivalent areas of circular and rectangular ue linings.
Maximum Allowable Working Pressure - 30 PSI (Water Only)
[3] 202 only. Dimension 'G' includes allowance for 4" x 3" reducer furnished with boiler. See Figure 8.
Figure 1

Related product manuals