EasyManua.ls Logo

Burnham Series 2B - Water Piping Recommendations; Operating Instructions; Initial System Filling and Venting

Burnham Series 2B
52 pages
Print Icon
To Next Page IconTo Next Page
To Next Page IconTo Next Page
To Previous Page IconTo Previous Page
To Previous Page IconTo Previous Page
Loading...
7
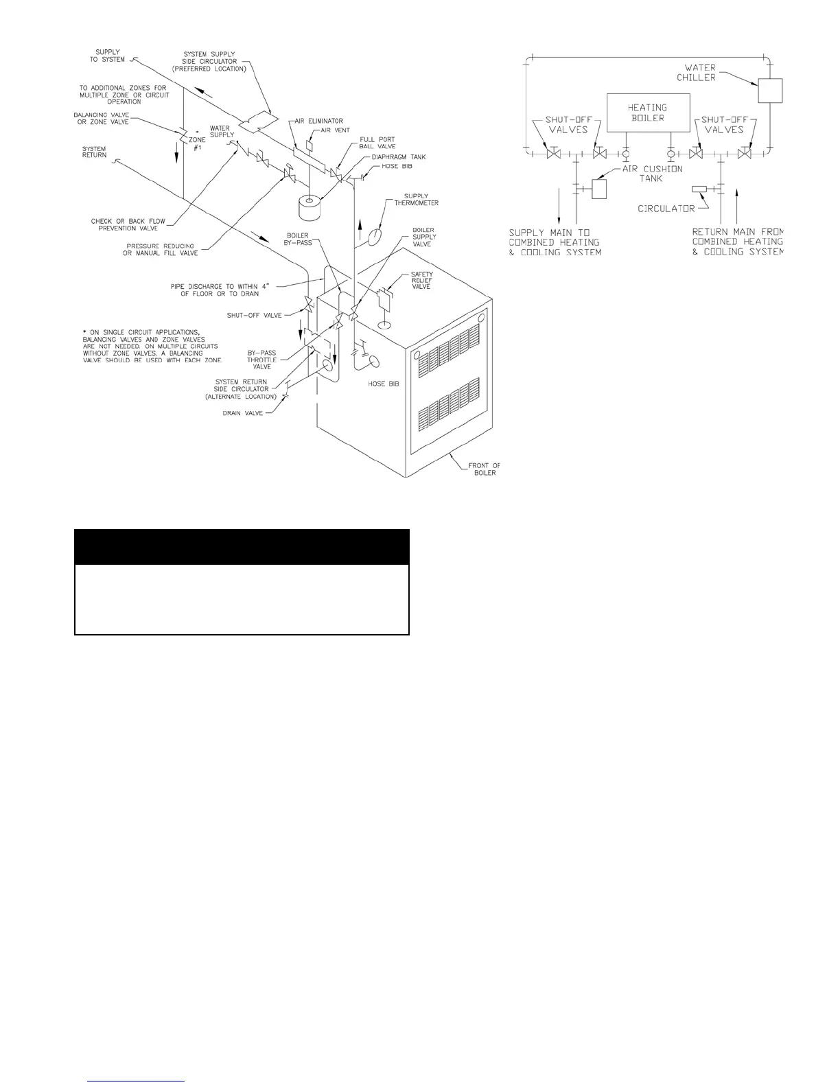
Figure 3: Recommended Water Piping for
Zone Valve Zoned Heating Systems
Figure 4: Recommended Piping
for Combination Heating & Cooling
(Refrigeration) Systems
WARNING
Safety relief valve discharge piping must be
piped near oor to eliminate potential of severe
burns. Do not pipe in any area where freezing
could occur. Do not install any shut-off valves.
D. Install circulator with anges, gaskets and bolts
provided. Five foot long circulator harness allows
circulator to be mounted on supply or return.
Connect harness to circulator and secure any excess
conduit.
E. For heating only system piping, see Figure 3.
Consult also I=B=R Installation Guides.
F. For space heating and domestic water heating with
Alliance SL™ water heater (intermittent circulation
only); install Alliance SL™ water heater as a
separate heating zone. Refer to Alliance SL™
Installation, Operating and Service Instructions for
additional information.
G. If this boiler is used in connection with refrigeration
systems, the boiler must be installed so that the
chilled medium is piped in parallel with the heating
boiler using appropriate valves to prevent the chilled
medium from entering the boiler, see Figure 4. Also
consult I=B=R Installation and Piping Guides.
If this Boiler is connected to heating coils located in
air handling units where they may be exposed to
refrigerated air, the boiler piping must be equipped
with ow control valves to prevent gravity
circulation of boiler water during the
operation of the cooling system.
H. Use a boiler bypass if the boiler is to be
operated in a system which has a large
volume or excessive radiation where low
boiler water temperatures may be
encountered (i.e. converted gravity
circulation system, etc.).
Install a pipe tee at the boiler return along
with a second tee in the supply piping as shown in
Figure 3. The bypass should be the same size as the
supply and return lines with valves located in the
bypass and supply outlet as illustrated in Figure 3 in
order to regulate water ow to maintain higher
boiler water temperatures.
Set the by-pass and boiler supply valves to a half
throttle position to start. Operate boiler until the
system water temperature is at a normal operating
range.
Adjust the valves to provide 180° to 200°F supply
water temperature. Opening the boiler supply valve
will raise the system temperature, while opening the
by-pass valve will lower the system supply
temperature.
I. A hot water boiler installed above radiation level
must be provided with a low water cutoff device as
part of the installation.
If a low water cut-off is required, it must be
mounted in the system piping above the boiler.
The minimum safe water level of a hot water boiler
is just above the highest water containing cavity of
the boiler; that is, a hot water boiler must be full of
water to operate safely.
Refer to Section VI for low water cut-off piping and
wiring instructions.
J. If it is required to perform a long term pressure test
of the hydronic system, the boiler should rst be
isolated to avoid a pressure loss due to the escape of
air trapped in the boiler.

Related product manuals