EasyManua.ls Logo

Byron 2204BN - Page 3

Byron 2204BN
17 pages
Print Icon
To Next Page IconTo Next Page
To Next Page IconTo Next Page
To Previous Page IconTo Previous Page
To Previous Page IconTo Previous Page
Loading...
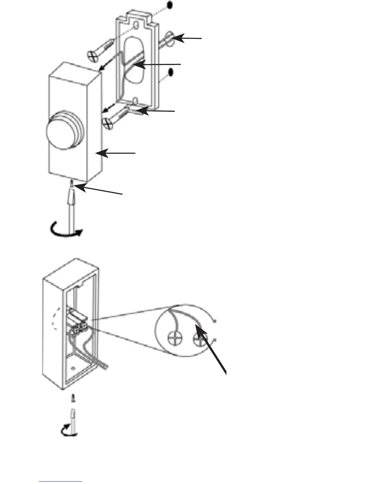
fig.2
5mm hole in door frame
Bell wire
Bell push cover
Grub screw
Close up of
terminal
connections
located at the
back of the push.
For best results
wrap the bare
bell wire
clockwise around
the terminal
screw head and
then tighten.
Grub screw hole
fig.1

Related product manuals