EasyManua.ls Logo

Calorex PPT16 - Esquema Fontanería Recomendado

Calorex PPT16
151 pages
Print Icon
To Next Page IconTo Next Page
To Next Page IconTo Next Page
To Previous Page IconTo Previous Page
To Previous Page IconTo Previous Page
Loading...
Pagina 10
Calorex Heat Pumps Ltd. · The Causeway, Maldon, Essex CM9 4XD, UK ·
Manual de instrucciones
PPT8/12/16/22LX/LY SLIMLINE
SD638150 EDICION 11
®
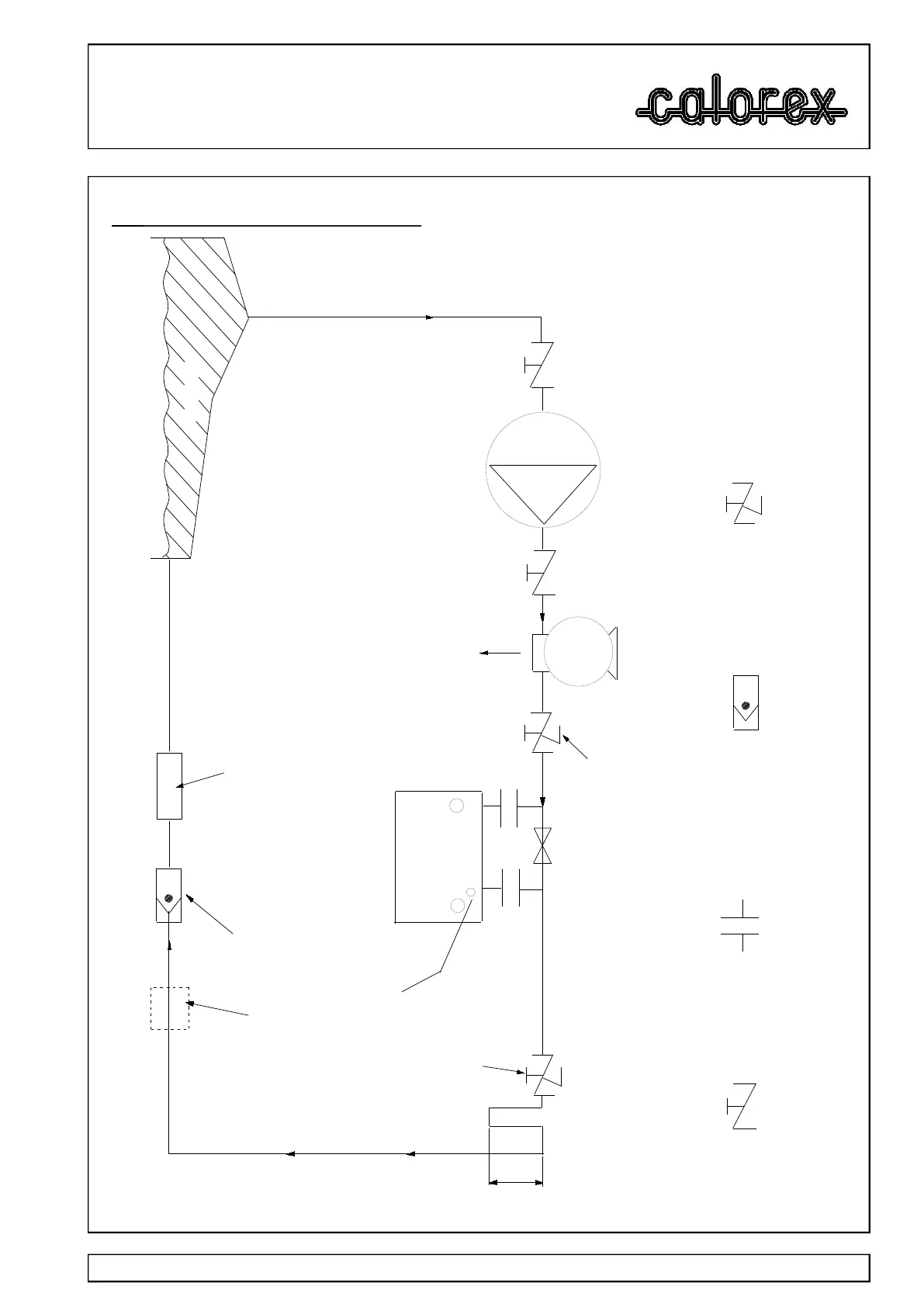
100mm
LVULA DE
NO RETORNO
DESINFECTANTE O
DOSIFICAGOR
QUIMICO SI FIJADO
CALENTADOR AUX.
SI FIJADO
FILTRO
BOMBA
DESAGUE PARA
PRODESO DE
ADAPTACION PARA
EL INVIERNO
INCORPORAR CIRCUITO ANTI
RETORNO, ALTURA MINIMA 100 mm
ENCIMA DE LA TOMA DE CORRIENTE
(SI LIMPIADOR INCLUIDO)
AGUA CONDENSADA
RESIDUAL
PUERTO DE
REPUESTO PARA
EL PROCESO DE
ADAPTACION AL
INVIERNO
RESIDUOS
LLAVE
BOMBA DE
CALOR
CALOREX
VÁLVULA DE
AISLAMIENTO
ACOPLAMIENTOS
FRAGILES
VALVULA DE NO
RETORNO
VALVULA CON
TRES SALIDAS
DESVIOS DE
VALVULA
(NORMALEMENTE
CERRADO)
PISCINA
3.1 Esquema fontanería recomendado

Table of Contents

Other manuals for Calorex PPT16

Related product manuals