EasyManua.ls Logo

Cameron Barton 752 - Section 6-Dimensional Drawings

Cameron Barton 752
44 pages
Print Icon
To Next Page IconTo Next Page
To Next Page IconTo Next Page
To Previous Page IconTo Previous Page
To Previous Page IconTo Previous Page
Loading...
31
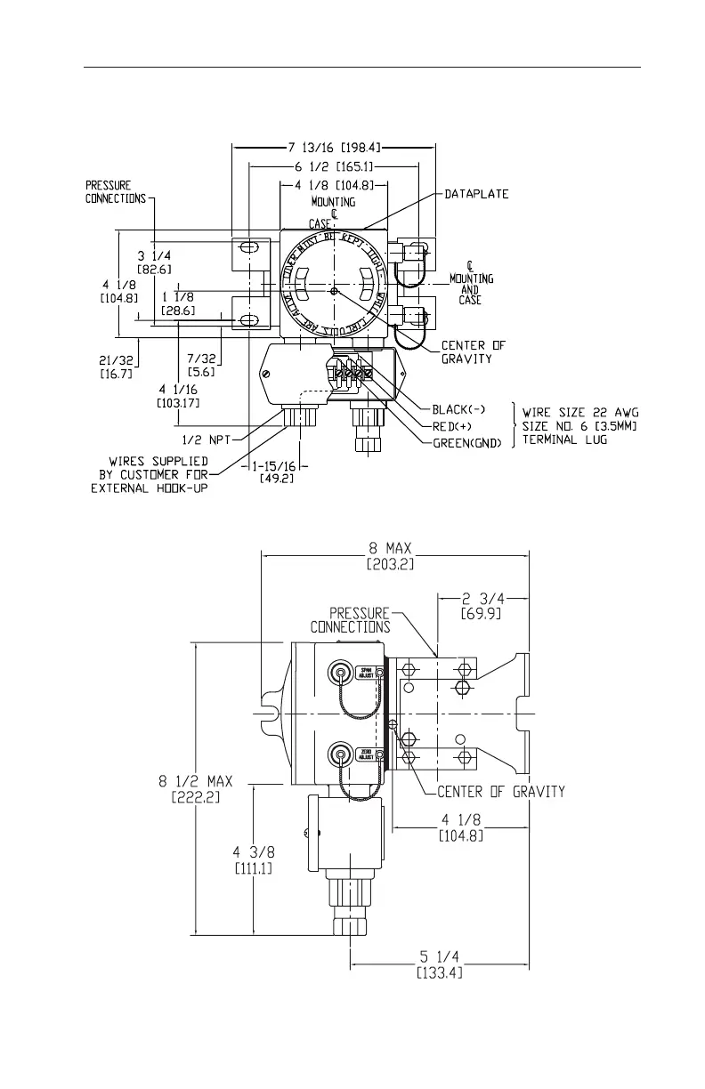
Model 752 and 752A Differential Pressure Transmitters Section 6
Section 6—Dimensional Drawings
Figure 6.1—Model 752 and 752A transmitters with junction box, front view
Figure 6.2—Model 752 and 752A transmitters with junction box, side view

Table of Contents

Related product manuals