EasyManua.ls Logo

Cameron Barton 752 - Section 5-Assembly Drawing and Parts List

Cameron Barton 752
44 pages
Print Icon
To Next Page IconTo Next Page
To Next Page IconTo Next Page
To Previous Page IconTo Previous Page
To Previous Page IconTo Previous Page
Loading...
27
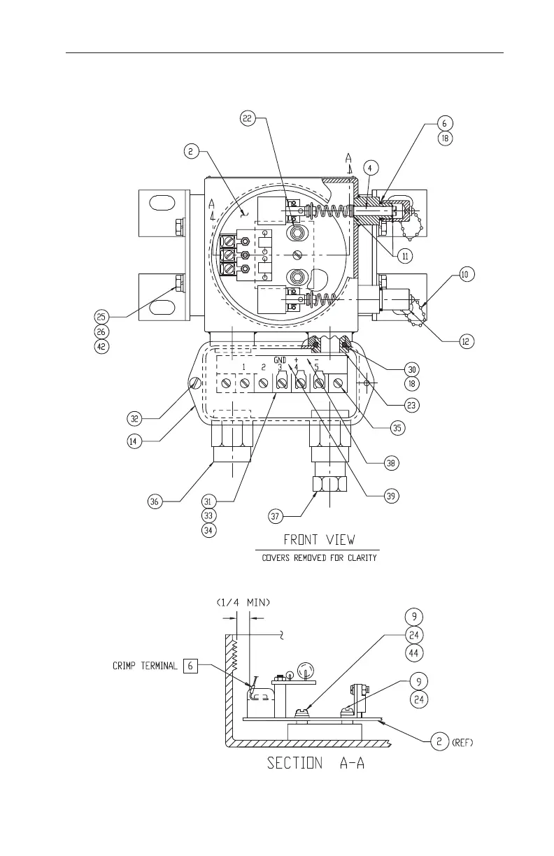
Model 752 and 752A Differential Pressure Transmitters Section 5
Section 5—Assembly Drawing and Parts List
Figure 5.1—Model 752 and 752A, front view

Table of Contents

Related product manuals