EasyManua.ls Logo

Cameron BARTON 764 - Section 6: Dimensional Drawings; Transmitter Front View Dimensions; Transmitter Rear View Dimensions; Transmitter Side View Dimensions

Default Icon
36 pages
Print Icon
To Next Page IconTo Next Page
To Next Page IconTo Next Page
To Previous Page IconTo Previous Page
To Previous Page IconTo Previous Page
Loading...
34
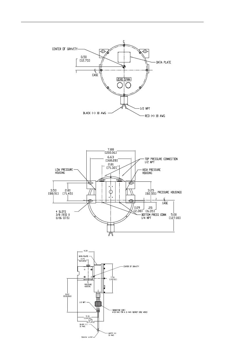
Section 6 Model 764 Differential Pressure Transmitter
Section 6—Dimensional Drawings
Figure 6.1—Model 764 transmitter, front view (connector assembly not shown)
Figure 6.2—Model 764 transmitter, rear view (connector assembly not shown)
Figure 6.3—Model 764 transmitter side view
[109.54]

Related product manuals