EasyManua.ls Logo

Candy CDP 6850 - Description de la Machine; Données Techniques

Candy CDP 6850
Print Icon
To Next Page IconTo Next Page
To Next Page IconTo Next Page
To Previous Page IconTo Previous Page
To Previous Page IconTo Previous Page
Loading...
23
Couvert (EN 50242)
Capacité avec casseroles et assiettes
Pression admise pour l'installation hydraulique
Fusible
Puissance maximum absorbée
Tension
15
9 personnes
Min. 0,08 - Max 0,8 MPa
(voir plaque signalétique)
(voir plaque signalétique)
(voir plaque signalétique)
DONNÉES TECHNIQUES:
DIMENSIONS:
Hauteur
Profondeur
Largeur
Encombrement porte ouverte
cm
cm
cm
cm
avec plan de travail
85
60
60
120
sans plan de travail
82
57,3
59,8
117
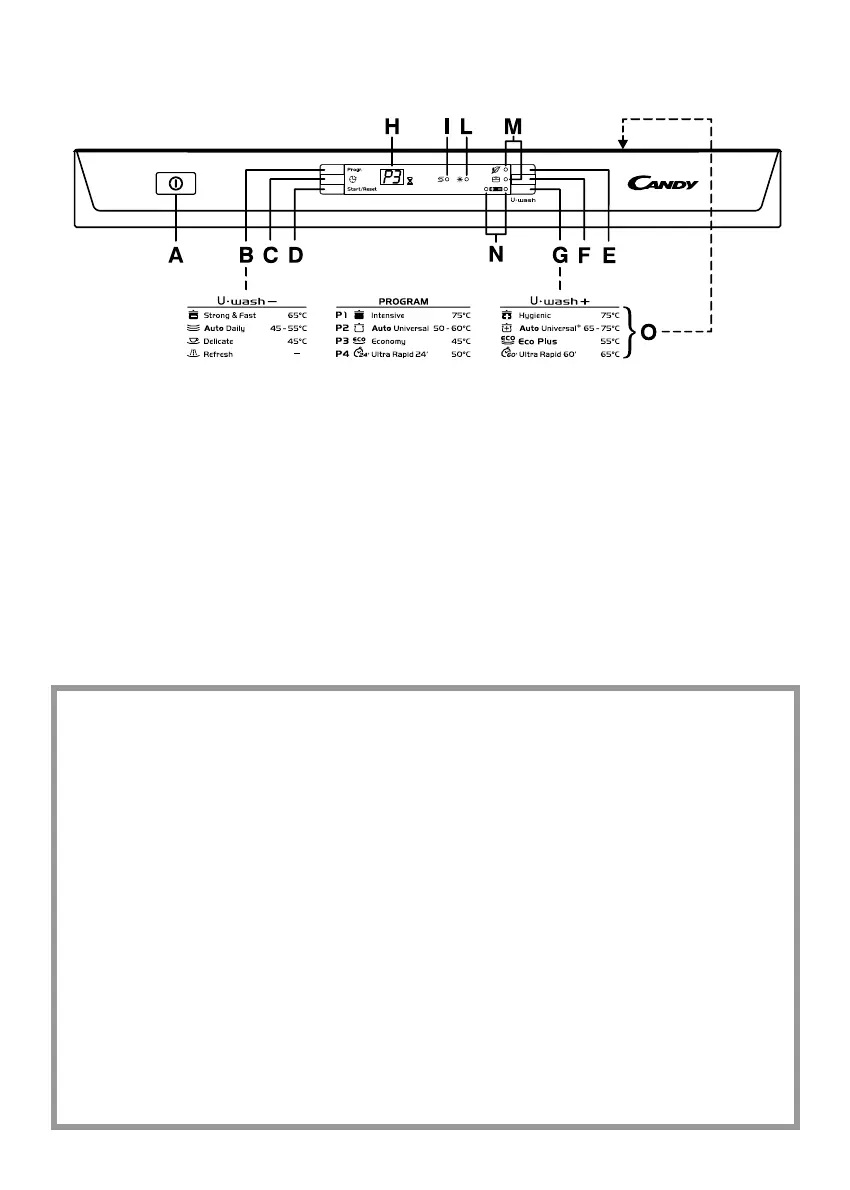
A Touche "MARCHE/ARRÊT"
B Touche "PROGRAMMES"
C Touche "DEPART DIFFERE"
D Touche "START"/"RESET"
(départ/annulation programme)
E Touche option "SUPER ECO"
F
Touche option "ALL IN 1"
G Touche
"U WASH"
H AFFICHEUR
I Voyant "MANQUE DE SEL"
L Voyant "MANQUE DE PRODUIT
DE RINÇAGE"
M Voyants "SÉLECTION D’OPTION"
N Voyants
"U WASH"
O Description des programmes
DESCRIPTION DE LA MACHINE

Related product manuals