EasyManua.ls Logo

Candy CDP 6850 - Descripcion de Los Mandos; Datos Técnicos

Candy CDP 6850
Print Icon
To Next Page IconTo Next Page
To Next Page IconTo Next Page
To Previous Page IconTo Previous Page
To Previous Page IconTo Previous Page
Loading...
43
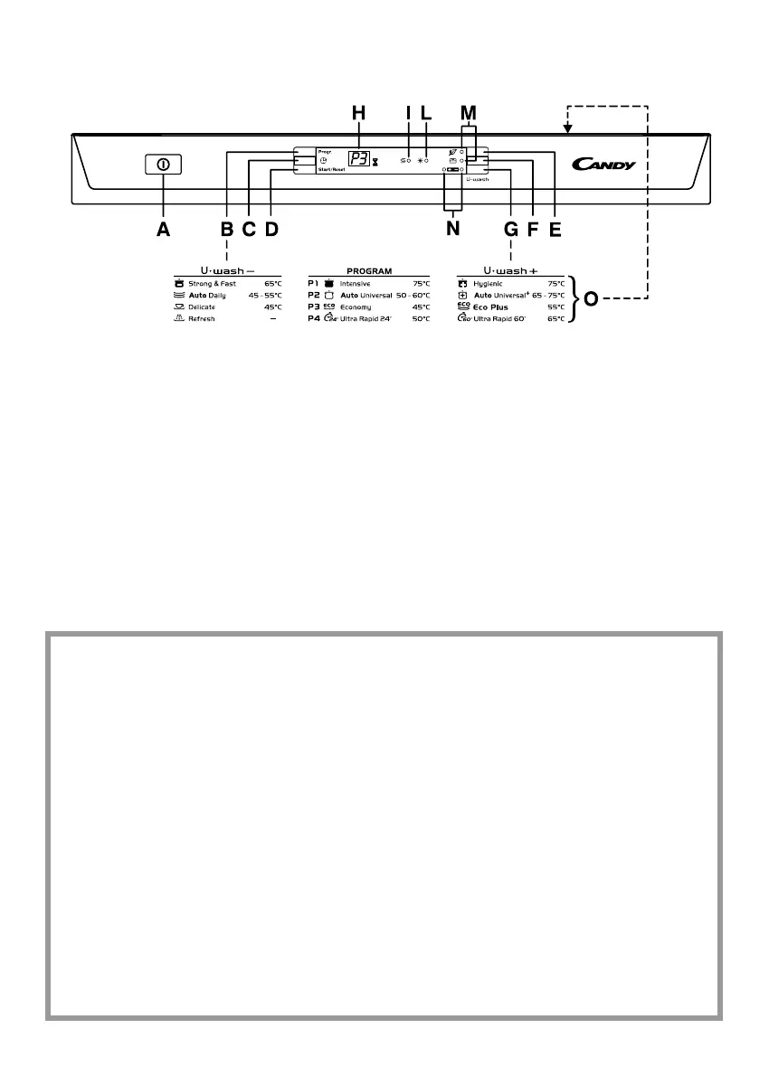
DESCRIPCION DE LOS MANDOS
A Tecla
"
MARCHA/PARO
"
B
Tecla "SELECCIÓN DE PROGRAMA"
C Tecla
"
INICIO DIFERIDO
"
D
Tecla "START"/"RESET"
(inicio/anulación del programa)
E
Tecla opción "SUPER ECO"
F Tecla opción "ALL IN 1"
G Tecla "U WASH"
H Display digital
I Piloto "FIN SAL"
L Piloto "FIN ABRILLANTADOR"
M Pilotos "SELECCIÓN OPCIÓN"
N
Pilotos "U WASH"
O Descripción de los programas
Cubiertos (EN 50242)
Capacidad con cacerolas y platos
Presión admitida en la instalación eléctrica
Amperios fusibles
Potencia máxima absorbida
Tensión
15
9 personas
Min. 0,08 - Max 0,8 MPa
(véase placa de características)
(véase placa de características)
(véase placa de características)
DATOS TÉCNICOS:
DIMENSIONES:
Altura
Profundidad
Ancho
Medida con puerta abierta
cm
cm
cm
cm
con plano de trabajo
85
60
60
120
sin plano de trabajo
82
57,3
59,8
117

Related product manuals