EasyManua.ls Logo

Candy CDP 6850 - Descrição Dos Comandos; Dados Técnicos

Candy CDP 6850
Print Icon
To Next Page IconTo Next Page
To Next Page IconTo Next Page
To Previous Page IconTo Previous Page
To Previous Page IconTo Previous Page
Loading...
53
Capacidade seg-norma EN 50242
Capacidade c/ tachos e pratos
Pressão admitida na instalação hidráulica
Fusível
Potência máxima absorvida
Tensão
15 pessoas
9 pessoas
Min. 0,08 - Max 0,8 MPa
(ver placa de características)
(ver placa de características)
(ver placa de características)
Altura
Profundidade
Largura
Profundidade com a porta aberta
cm
cm
cm
cm
com bancada
85
60
60
120
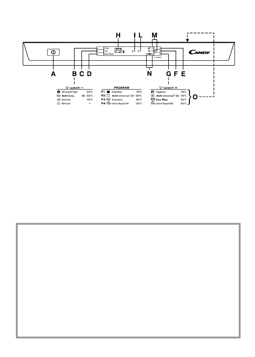
DESCRIÇÃO DOS COMANDOS
DADOS TÉCNICOS :
sem bancada
82
57,3
59,8
117
DIMENSÕES :
A Tecla “LIGAR/DESLIGAR”
B Tecla "SELECÇÃO DO PROGRAMA"
C Tecla “INÍCIO DE FUNCIONAMENTO
RETARDADO”
D
Tecla "START"/"RESET"
(para iniciar ou cancelar o programa)
E
Tecla de opção "SUPER ECO"
F Tecla de opção “ALL IN 1”
G Tecla
"U WASH"
H DISPLAY DIGITAL
I Indicador luminoso “FALTA DE SAL”
L Indicador luminoso “FALTA DE
ABRILHANTADOR"
M Indicadores luminosos “OPÇÃO
SELECCIONADA”
N Indicadores luminosos
"U WASH"
O
Descrição dos programas

Related product manuals