EasyManua.ls Logo

Candy CTPS64SCTTWIFI - Об Зор Продук Та; Вид Сверху; Панель Управления

Candy CTPS64SCTTWIFI
258 pages
Print Icon
To Next Page IconTo Next Page
To Next Page IconTo Next Page
To Previous Page IconTo Previous Page
To Previous Page IconTo Previous Page
Loading...
RU-9
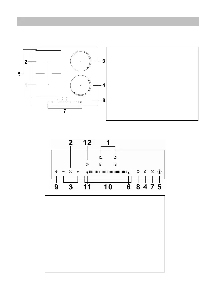
Об зор продук та
Вид сверху
1. Конфорка 2000 Вт, в режиме
повышения мощности до 2 600 Вт
2. Конфорка 1500 Вт, в режиме
повышения мощности до 2000 Вт
3. Конфорка 2000 Вт, в режиме
повышения мощности до 2600 Вт
4. Конфорка 1500 Вт, в режиме
повышения мощности до 2000 Вт
5. Гибкая зона, 2800 Вт, в режиме
повышения мощности до 3500 Вт
6. Стеклянная плита
7. Панель управления
Панель управления
1. Элементы управления выбором зоны нагрева
2. Таймер
3. Клавиша регулировки таймера
4. Кнопка блокировки панели управления
5. Кнопка ON/OFF (ВКЛ/ВЫКЛ)
6. Кнопка функции повышения мощности
7. Функция паузы
8. Direct Cook
9. Кнопка WiFii
10. Кнопки выбора мощности
11. Кнопка функции поддержания пищи тёплой
12. Гибкая зона

Table of Contents

Related product manuals